EasyManua.ls Logo

Miele DG 5030 - Appliance and Building-in Dimensions; Installation in a Tall Unit

Miele DG 5030
52 pages
Print Icon
To Next Page IconTo Next Page
To Next Page IconTo Next Page
To Previous Page IconTo Previous Page
To Previous Page IconTo Previous Page
Loading...
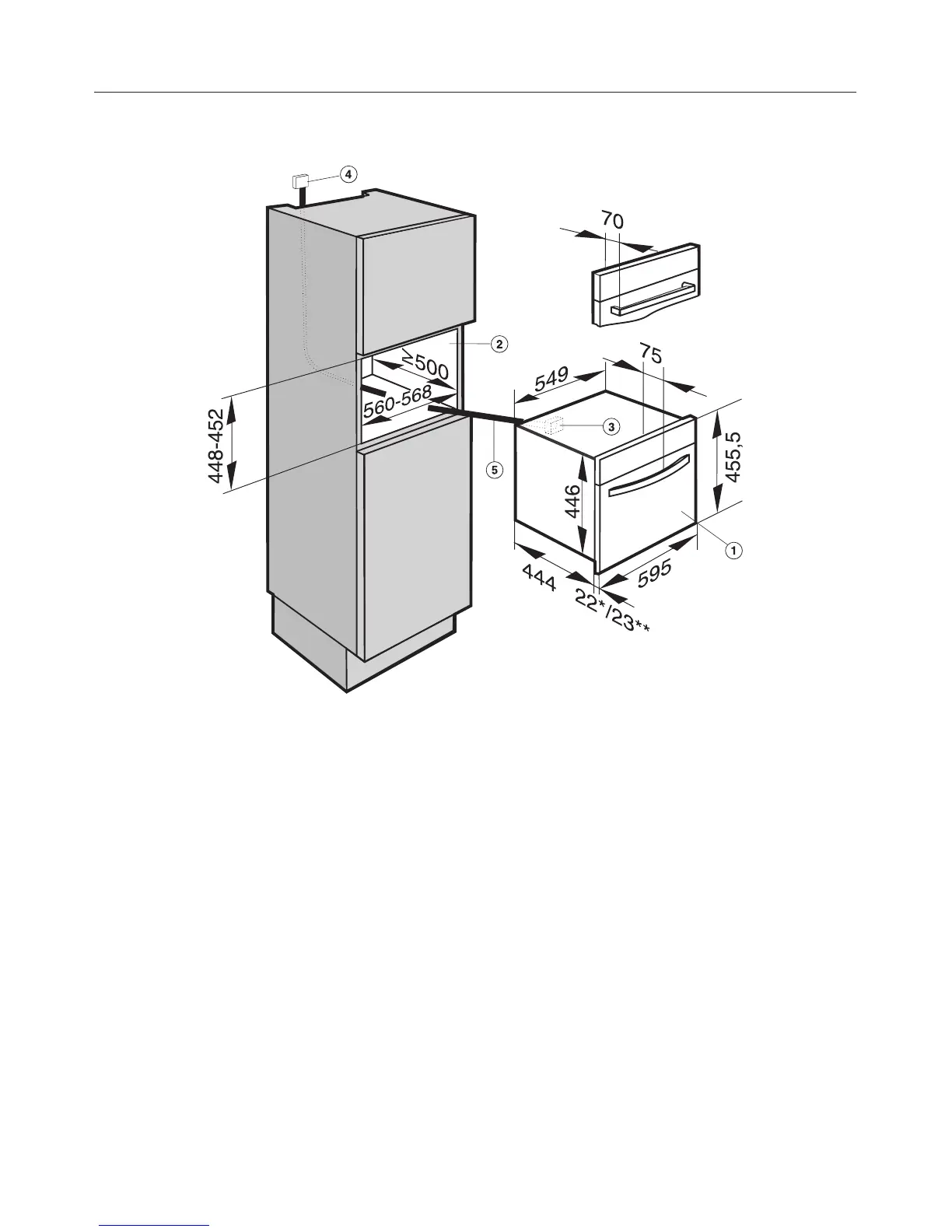
Installation in a tall unit
* Appliances with glass front
** Appliances with metal front
a Steam oven
b Building-in recess
c Inlet for mains connection cable to the appliance
d Recommended position for electrical socket.
Important: Do not position behind the appliance!
e Mains connection cable
Appliance and building-in dimensions
42