EasyManua.ls Logo

Miller Spoolmate 3545 - Electrical Diagrams

Miller Spoolmate 3545
36 pages
Print Icon
To Next Page IconTo Next Page
To Next Page IconTo Next Page
To Previous Page IconTo Previous Page
To Previous Page IconTo Previous Page
Loading...
OM-1216 Page 21
SECTION 5 ELECTRICAL DIAGRAMS
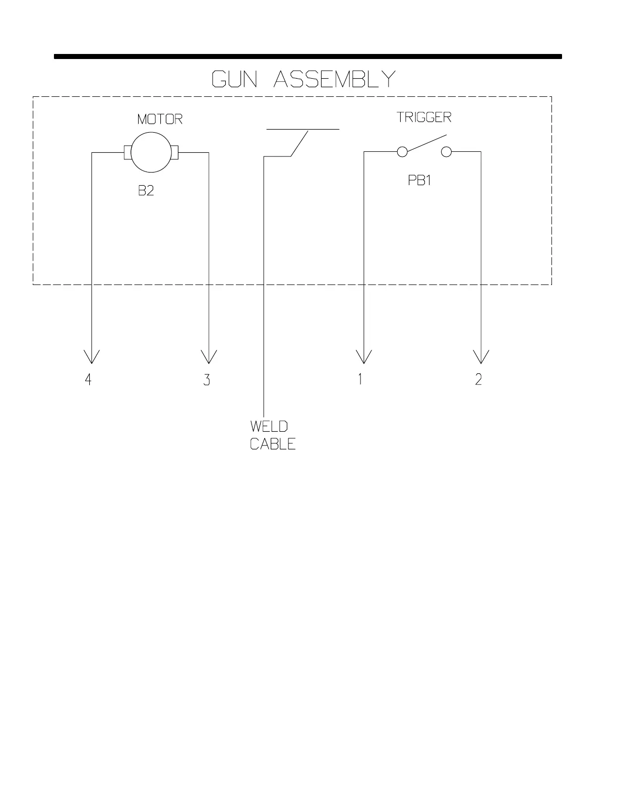
Figure 5-1. Circuit Diagram
186 451

Related product manuals