EasyManua.ls Logo

Milltronics XPS-10 - Page 25

Milltronics XPS-10
27 pages
Print Icon
To Next Page IconTo Next Page
To Next Page IconTo Next Page
To Previous Page IconTo Previous Page
To Previous Page IconTo Previous Page
Loading...
PL-551 XPS 10/15 F Series Transducer Page 25
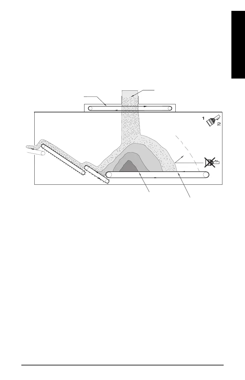
Applications
Dryer - Wood Chips
1. Transducer should be mounted perpendicular to slope of wood chips.
2. When used in hazardous areas, the XPS 10 F series transducer (shown)
must use a hazardous seal. This seal is
not
supplied by Milltronics. The
XPS 15 F Series transducer comes equipped with a stainless steel coupling
suitable for use in hazardous locations.
drag conveyor
infeed
typical low
level
typical high
level

Related product manuals