EasyManua.ls Logo

Mitsubishi A1SD75M3 - Page 410

Mitsubishi A1SD75M3
746 pages
Print Icon
To Next Page IconTo Next Page
To Next Page IconTo Next Page
To Previous Page IconTo Previous Page
To Previous Page IconTo Previous Page
Loading...
9 - 52
MELSEC-A
9 MAIN POSITIONING CONTROL
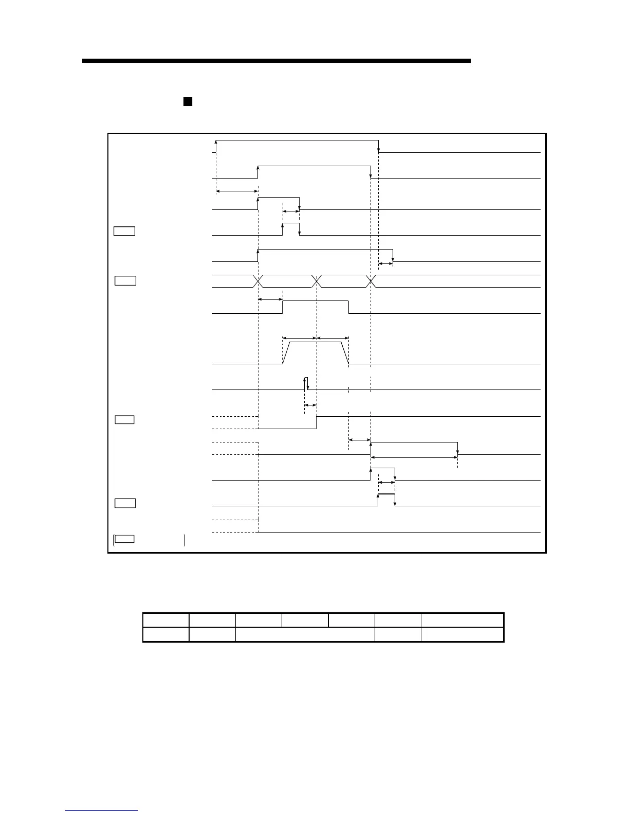
Operation timing and processing time during speed/position changeover
control
Positioning start
signal [Y10,Y11,Y12]
BUSY signal
M code ON signal
[XD,XE,XF](WITH mode)
Standing by
In speed control
Start complete signal
Position/speed command
Positioning operation
Positioning complete signal
M code ON signal (AFTER mode)
t1
t2
t3
t4
t5
t2
t7
*
In position control
Speed
control
Position
control
External speed/position
changeover command
*
t6
* Speed control carried out until speed/position changeover
signal turns ON
Position control movement amount is from the input position of
the external speed/position changeover signal
Md.35 Axis operation status
Cd. 21 Speed/position changeover
control movement amount
change register
Zero point return complete flag
Md.40 Status: b4
Cd.14 M code OFF request
Cd.14 M code OFF request
*
Standing by
[X4,X5,X6]
[X1,X2,X3]
[X7,X8,X9]
[XD,XE,XF]
Fig. 9.11 Operation timing and processing time during speed/position changeover control
Normal timing time Unit: ms
t1 t2 t3 t4 t5 t6 t7
5 to 15 0 to 60 0 to 3.5 1 Follows parameters
The t1 timing time could be delayed by the following factors.
1) Presence of FROM/TO command execution during start process
2) Operation state of other axes
3) Presence of intervention from peripheral device during start process
4) Details of positioning data to be started

Related product manuals