EasyManua.ls Logo

Mitsubishi A1SD75M3 - Page 411

Mitsubishi A1SD75M3
746 pages
Print Icon
To Next Page IconTo Next Page
To Next Page IconTo Next Page
To Previous Page IconTo Previous Page
To Previous Page IconTo Previous Page
Loading...
9 - 53
MELSEC-A
9 MAIN POSITIONING CONTROL
Current feed value during speed/position changeover control
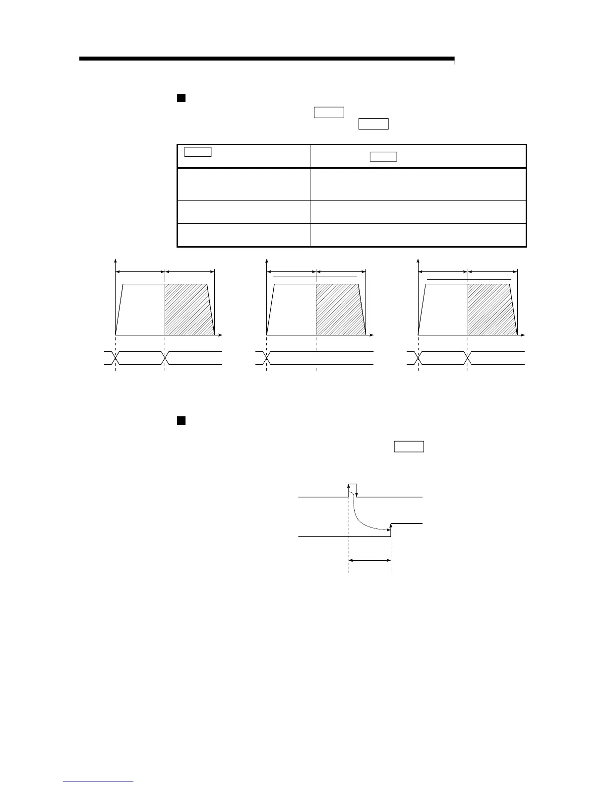
The following table shows the "
Md.29
Current feed value" during speed/position
changeover control corresponding to the "
Pr.22 Current feed value during speed
control" settings.
"
Pr.22
Current feed value during
speed control" setting
Md.29
Current feed value
0: Do not update current feed value
The current feed value at control start is maintained during
speed control, and updated from the changeover to
position control.
1: Update current feed value
The current feed value is updated during speed control
and position control.
2: Zero clear current feed value
The current feed value is cleared (set to "0") at control
start, and updated from the changeover to position control.
t
0
Updated from 0
t
Speed
t
Position control
Maintained
Updated
Speed control
Speed
Position control
Speed control
Speed
Position control
Speed control
Updated
(a) Current feed value not updated (b) Current feed value updated
(c) Current feed value zero cleared
Changeover time from speed control to position control
There is 1ms from the time the speed/position changeover signal is turned ON to
the time the speed/position changeover latch flag (
Md.40 Status: b1) turns ON.
Speed/position changeover signal
OFF
ON
OFF
ON
1ms
Speed/position changeover latch flag

Related product manuals