EasyManua.ls Logo

Mitsubishi A1SD75M3 - 10.2 Advanced positioning control execution procedure

Mitsubishi A1SD75M3
746 pages
To Next Page IconTo Next Page
To Next Page IconTo Next Page
To Previous Page IconTo Previous Page
To Previous Page IconTo Previous Page
Loading...
10 - 6
MELSEC-A
10 ADVANCED POSITIONING CONTROL
10.2 Advanced positioning control execution procedure
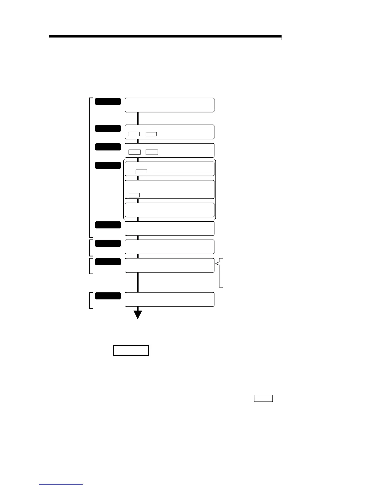
Advanced positioning control is carried out using the following procedure.
STEP 1
Preparation
Starting the control
Monitoring the control
Refer to Chapter 9
Carry out the "main positioning control" setting.
Control termination
* "Advanced positioning control" executes each control
("main positioning control") set in the positioning data
with the designated conditions,so first carry out
preparations so that "main positioning control" can be
executed.
STEP 2
Set the start block data corresponding to each control.
( Da. 10 to Da. 13 ) × required data amount.
* The 50 "start block data" points from 1 to 50 points
can be set.
* Set the "condition data" for designation with the
"start block data". Up to 10 condition data items
can be set.
STEP 3
Set the "condition data"
( Da. 14 to Da. 18 ) × required data amount .
* The AD75 recognizes that the control is advanced
positioning control using "start block data" by the
"7000" designation.
Use the GPP function software package to create a
sequence program to execute the "advanced
positioning control".
(Set the control data in the AD75 buffer memory using
a TO command.)
STEP 4
Create a sequence program in which "7000"*is set in
the
"
Cd. 11 Positioning start No.
"
(Control data setting)
STEP 5
Refer to Chapter 6
* Write the sequence program created in STEP 4 to the
PLC CPU using the GPP function software package.
* Same procedure as for the "main positioning control"
start.
STEP 6
* Use one of the following two methods.
Method (1): Monitor using the AD75 software package.
Method (2): Monitor using the GPP function software
package.
* Same procedure as for the "main positioning control" stop.
STEP 7
Create a sequence program in which the "positioning
start signal" is turned ON by a positioning start command.
Create a sequence program in which the "start block
data point No. to be started" (1 to 50) is set in the
" Cd. 31 Positioning start point No." (Control data setting)
Write the sequence programs to the PLC CPU.
Turn ON the "positioning start command" of
the axis to be started.
Stopping the control
STEP 8
Stop when control is completed
Monitor the advanced positioning control.
Refer to Section 10.3
Refer to Section 10.5
Refer to Section 10.4
Refer to Section 6.5.3
Refer to Section 6.5.6
REMARK
* (1) One set of "start block data (50 points)" and "condition data (10 items)
corresponding to "7000" is set with a sequence program.
(2) Eleven sets of data from "7000" to "7010" can be set when the AD75 software
package is used. If the AD75 software package is used to set the "start block
data" and "condition data" corresponding to "7001" to "7010" and write the
data to the AD75, "7001" to "7010" can be set in "
Cd.11 Positioning start
No." in STEP 4.

Related product manuals