EasyManua.ls Logo

Mitsubishi MR-J4-60A - Page 134

Mitsubishi MR-J4-60A
640 pages
Print Icon
To Next Page IconTo Next Page
To Next Page IconTo Next Page
To Previous Page IconTo Previous Page
To Previous Page IconTo Previous Page
Loading...
3. SIGNALS AND WIRING
3 - 67
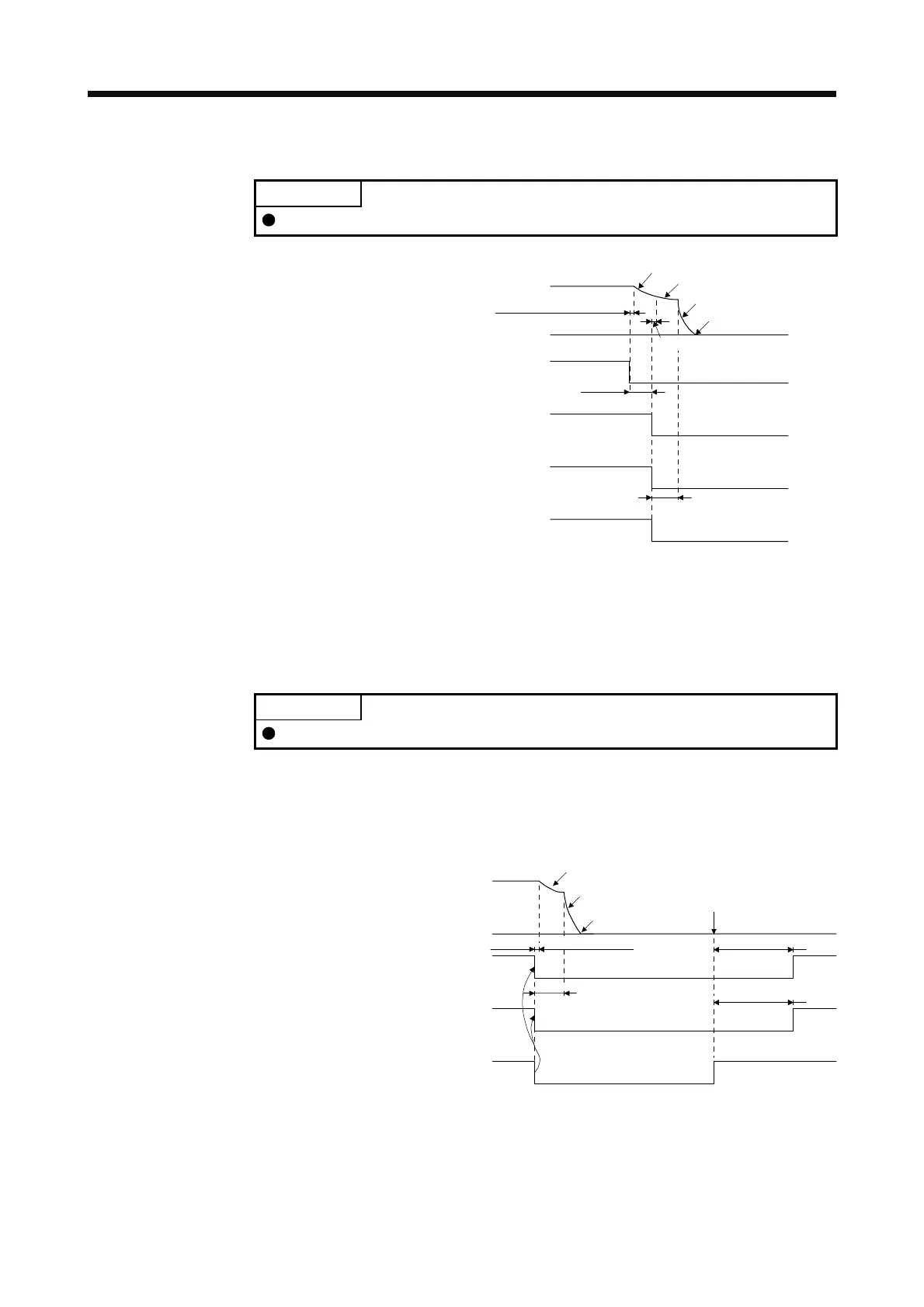
(e) Main circuit power supply off during control circuit power supply on
POINT
In the torque control mode, the forced stop deceleration function is not available.
ALM (Malfunction)
MBR
(Electromagnetic
brake interlock)
ON
OFF
ON
OFF
ON (no alarm)
OFF (alarm)
(Note 2)
The time until a voltage
drop is detected.
Main circuit
power supply
ON
OFF
Dynamic brake
Forced stop deceleration
Dynamic brake
+ Electromagnetic brake
Electromagnetic brake
Operation delay time of
the electromagnetic brake
Servo motor speed
0 r/min
Approx. 10 ms
(Note 1)
Base circuit
(Energy supply to
the servo motor)
Note 1. ON: Electromagnetic brake is not activated.
OFF: Electromagnetic brake has been activated.
2. Variable according to the operation status.
(2) When you do not use the forced stop deceleration function
POINT
To disable the function, set "0 _ _ _" in [Pr. PA04].
(a) SON (Servo-on) on/off
It is the same as (1) (a) in this section.
(b) EM1 (Forced stop 1) on/off
Dynamic brake
Dynamic brake
+ Electromagnetic brake
Electromagnetic brake
MBR
(Electromagnetic
brake interlock)
Operation delay time
of the electromagnetic
brake
Approx. 210 ms
Approx. 210 ms
Electromagnetic brake
has released.
(Note)
ON
OFF
Base circuit
ON
OFF
Servo motor speed
EM1 (Forced stop)
Disabled (ON)
Enabled (OFF)
0 r/min
Approx. 10 ms
Note. ON: Electromagnetic brake is not activated.
OFF: Electromagnetic brake has been activated.

Table of Contents

Related product manuals