EasyManua.ls Logo

Mitsubishi Q00CPU - Page 477

Mitsubishi Q00CPU
692 pages
Print Icon
To Next Page IconTo Next Page
To Next Page IconTo Next Page
To Previous Page IconTo Previous Page
To Previous Page IconTo Previous Page
Loading...
9
DEVICE EXPLANATION
9.2 Internal User Devices
9.2.10 Timer (T)
9
- 26
9
Device Explanation
10
CPU Module Processing
Time
11
Procedure for Writing
Program to CPU Module
AppendicesIndex
(b) Measurement units
The default time measurement units setting for low speed timers is 100 ms.
The time measurement units setting can be designated in 1 ms units within a 1 ms
to 1000 ms range.
This setting is designated at the "PLC system" tab screen in the "(PLC)
Parameter" dialog box.
(5) High-speed timers
(a) Definition
High-speed timers performs counting in 0.1 to 100ms units.
The timer is valid only while its coil is ON, and has a symbol "H".
The time measurement begins when the timer's coil switches ON, and the contact
switches ON when the time elapses. When the timer's coil switches OFF, the
current value becomes "0", and the contact switches OFF.
(b) Measurement units
The default time measurement units setting for high speed timers is 10 ms.
The time measurement units setting can be designated in 0.1ms units within a 0.1
ms to 100 ms range.
This setting is designated at the "PLC system" tab screen in the "(PLC)
Parameter" dialog box.
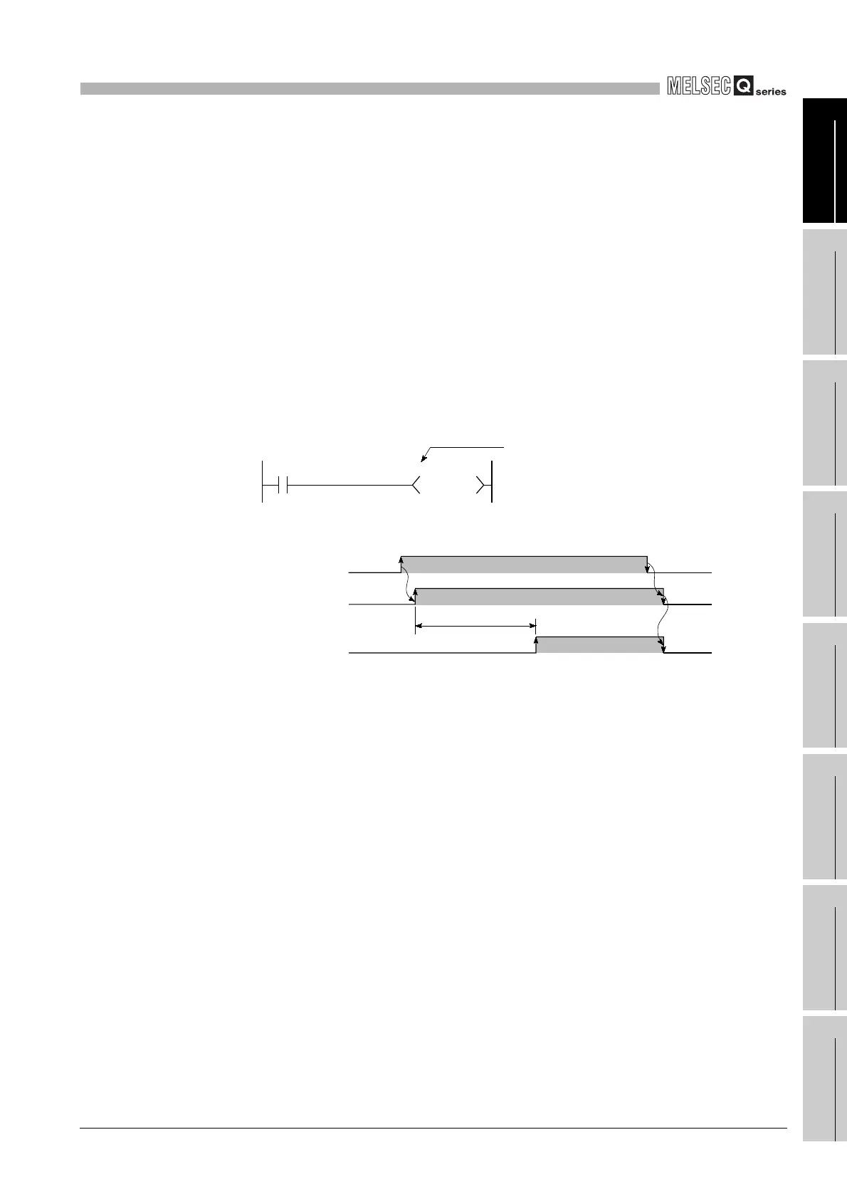
Diagram 9.22 Ladder example and timing chart of high-speed timer
X0
H K50
T200
High-speed timer display
OFF
OFF
OFF
ON
ON
ON
X0
[Ladder example]
When X0 switches ON, the T200 coil switches ON, and
the contact switches ON 0.5 second later. (The high-
speed timer measures time in 10 ms units.)
[Time chart]
0.5s
T200 coil
T200 contact

Table of Contents

Other manuals for Mitsubishi Q00CPU

Related product manuals