EasyManua.ls Logo

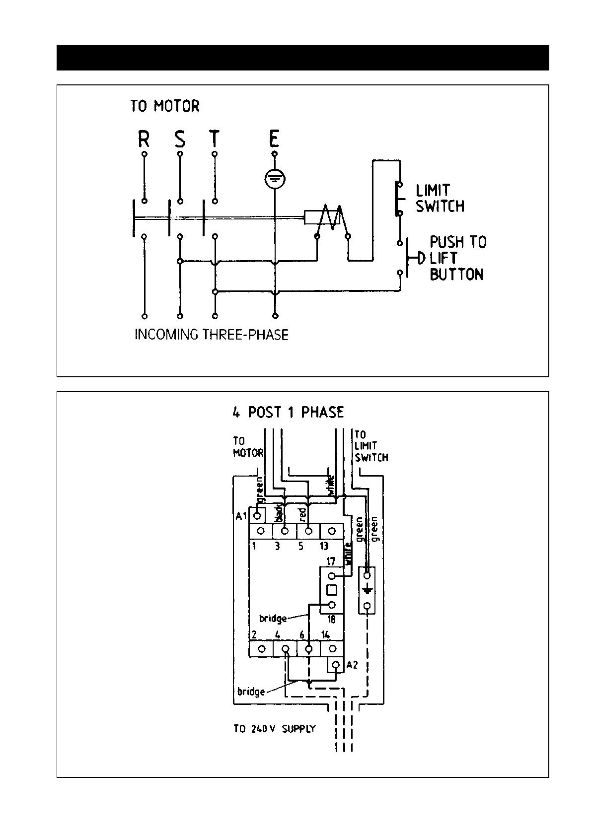
Molnar 3585 - Wiring Diagrams; Three-Phase Motor Wiring; Single-Phase Hoist Wiring

Default Icon
28 pages
Print Icon
To Next Page IconTo Next Page
To Next Page IconTo Next Page
To Previous Page IconTo Previous Page
To Previous Page IconTo Previous Page
Loading...
Page 19
WIRING DIAGRAMS
WIRING TO THESE UNITS TO COMPLY WITH AS 3000