EasyManua.ls Logo

Mooney M20M - Page 141

Mooney M20M
399 pages
Print Icon
To Next Page IconTo Next Page
To Next Page IconTo Next Page
To Previous Page IconTo Previous Page
To Previous Page IconTo Previous Page
Loading...
MOONEY
AIRCRAFT
CORPORATION
M20M
SERVICE
AND
MAINTENANCE
MANUAL
LEFT
SIDE
PANEL
FLIGHT
PANEL
#2
M-RC206A
M-PL206A
k-RC211A
M-PLE11A
M-MP02A14
I
IEcl
M-MPOIA14
hl-~P03A14
M-MP07A14
M-MP06*14
M-MP05A14
M-~PIIA14
M-MP12A14
F~-MPr5A14
k-kP16A14
PROP
DE-ICE
PROP
DE-ICE
M-MPIO1A
FIREWALL
#2
TERMINAL
BLOCK
M-RC225A
~-PL225A
M-MP105A
M-MP12A14
rr;c~
M-~P13A14
20A
3-kP16A14
---------------I
160C------
M-MP17A14
M-MP19A14
12~---
M-MP18A14
I
POWER
L
GRND
PLUG
#2
BUS
BPIR
#9
M-PL17A
M-PB117A
TPIILtONE
L
I
G
PROP
DE-ICE
M-RC231A
M-PL231A
F(-MP09A14
M-MP04A14
I-B
TIMER
M-MP03A14
M-MP102A
k-MP07A14
M-MP08A14
M-kPllc\l4
M-MPIOAr4
C
~-MP15A14
M-MP14A14
EFF.:
27-0001
THRU
27-0052
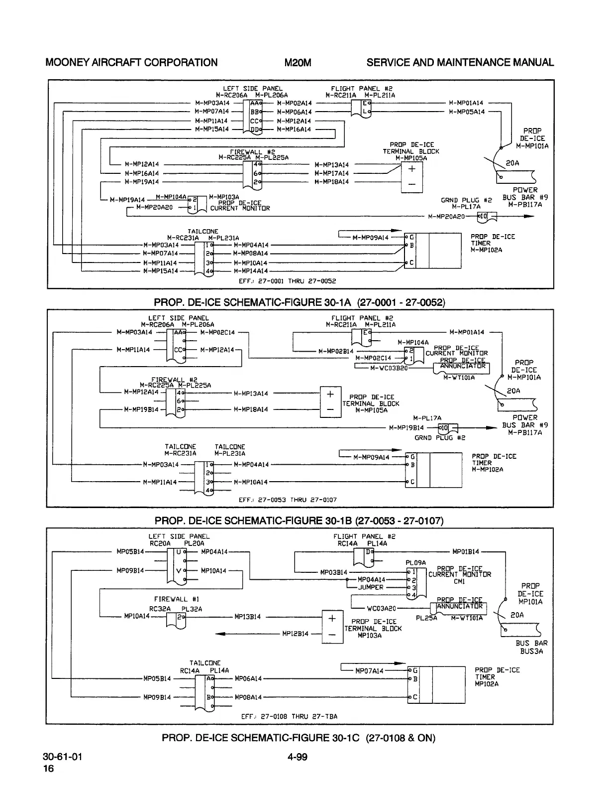
PROP.
DE-ICE
SCHEMATIC-FIGURE
30-1A
(27-0001
27-0052)
LEFT
SIDE
PANEL
FLIGHT
PANEL
#2
k-RC206A
M-PL206A
M-RC211PI
M-PL211A
M-MPa3A14
k-MP02C14
---´•I
M-MP104A
M-lrlPO1AI4
M-MPIIA14
M-MPIZP114
PROP
IIE-ICE
CURRENT
MONITOR
~-MP02C14
PROP
M-WC03B20
DE-ICE
M-wrlola
M-lrlPIOLA
FIREW
TERMINAL
BLOCK
20A
DE-ICE
M-PL17A
POWER
M-MP19B14
GRND
PLUG
#2
TL\ILCDNE
TAILCONE
M-RCZ31~
M-PLZJLLI
Lhl-MPOSP1141PG
PROP
DE-ICE
M-MPD3A14M-kPD4A14
~-B
TIMER
M-MP102A
F1-MPIIA14
M-MP10A14
C
EFF.:
27-0053
THRU
27-0107
PROP.
DE-ICE
SCHEMATIC-FIGURE
30-1B
(27-0053
27-0107)
LEFT
SIDE
PANEL
FLIGHT
PANEL
#2
RCEOA
PLC0A
RC14A
PL14A
V
PL09A1
PROP
DE-ICE
MPOSB1
U
4-
~P04A14
MPD1B14
MP09Bi4
MPIOA14
MP03B14
CURRENT
MONITOR
CF(I
JUMPER
PROP
DE-ICE
FIREWALL
#1
MPIO1A
RC32A
PL32A
WC03A20
IATOR
~PIOA1hlP13814
~IO
20A
PL25A
M-
PROP
DE-ICE
TERMINAL
BLOCK
MP12B14
MPIOBA
BUS BAR
BUSBA
TAILCONE
L
G
PROP
DE-ICE
RC14A
PL14A
MP07A14
MP05B14MP06A14
~-B
TIMER
MPIOEA
MPa9B14
MP08A14
C
EFFJ
27-0108
THRU
27-TEA
PROP.
DE-ICE
SCHEMATIC-FIGURE
30-1C
(27-0108
ON)
30-61-01
4-99
16
OLDWILLWAYNE

Table of Contents

Other manuals for Mooney M20M

Related product manuals