EasyManua.ls Logo

Motorola ASTRO XTS 3000 R

Motorola ASTRO XTS 3000 R
236 pages
To Next Page IconTo Next Page
To Next Page IconTo Next Page
To Previous Page IconTo Previous Page
To Previous Page IconTo Previous Page
Loading...
2-4
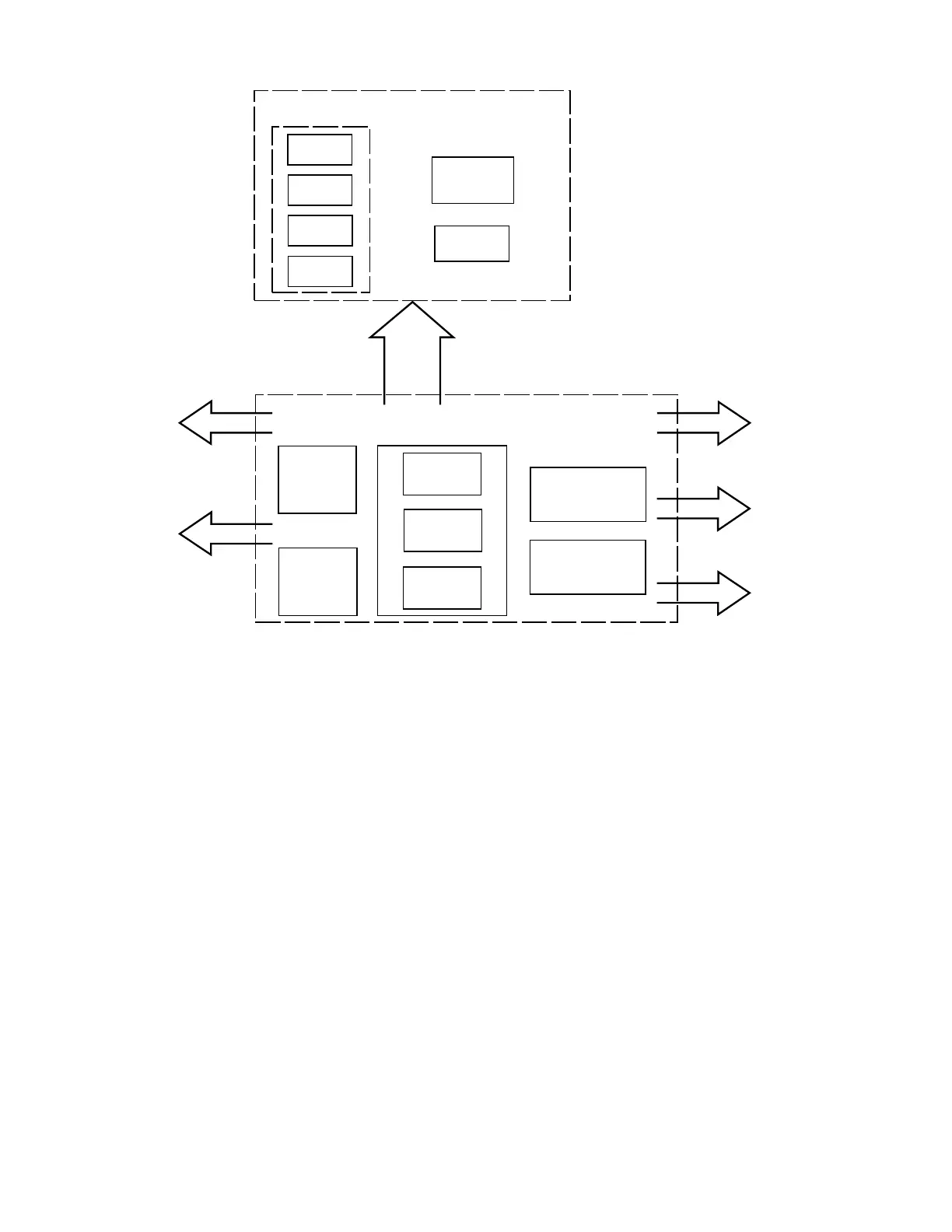
microcontrol unit executes a stored program located in its FLASH
ROM. Data is transferred to and from memory by the microcontrol
unit data bus. The memory location from which data is read, or to
which data is written, is selected by the address lines.
Figure 2-1. Controller Board/Vocoder Board Interconnection
The SLIC acts as an extension of the microcontrol unit by providing
logic functions such as lower address latch, reset, memory address
decoding, and additional control lines for the radio. The microcontrol
unit controls the crystal-pull circuit to adjust the crystal oscillator’s
frequency on the microcontrol unit, so that the E-clock’ s harmonics
do not cause interference with the radio’s receive channel.
Switched +5V is used for all circuits on the vocoder and controller
boards, except the audio PA, which is sourced from 7.5V. The regulator
automatically provides 5V when the radio is turned on. The regulator’s
power-down mode is controlled by the microcontrol unit, which
senses the position of the on/off/volume control knob.
DSP
SRAM
DSP
SRAM
DSP
SRAM
256K x 8
FLASH
DSP56001A
ADSIC
Vocoder Board
50-pin Connection
to Vocoder Board
20-pin
Connection to
RF Board
25-pin
Connection to
Encryption Board
Switching
Regulator
Circuit
Audio
Circuit
32K x 8
EEPROM
32K x 8
SRAM
1M x 8
FLASH
HC11F1
P
SLIC
MAEPF-25993-O
12-pin
Connection to
Keypad Module
7-pin
Connection to
Display Module
Controller Board
41-pin
Connection to
Controls/Universal
Connector

Table of Contents

Other manuals for Motorola ASTRO XTS 3000 R

Related product manuals