EasyManua.ls Logo

MR VACUTAP VMS - Design;Versions

MR VACUTAP VMS
80 pages
Print Icon
To Next Page IconTo Next Page
To Next Page IconTo Next Page
To Previous Page IconTo Previous Page
To Previous Page IconTo Previous Page
Loading...
3 Product description
Maschinenfabrik Reinhausen GmbH 202026 5993419/02 ENVACUTAP
®
VMS
®
3.2.2 Design/versions
The drive shaft consists of a square tube and is coupled at each end by two
coupling brackets and one coupling bolt to the driving or driven shaft end of
the device to be connected.
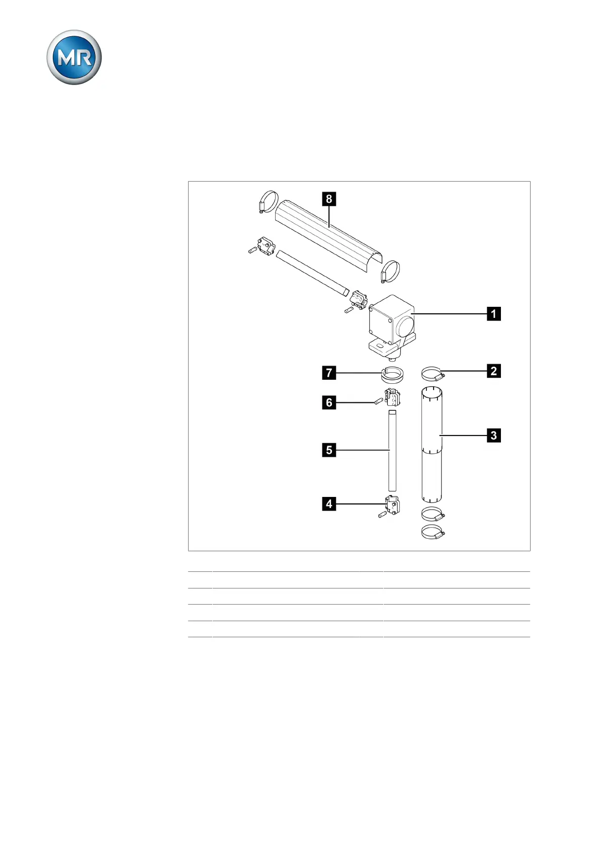
Figure12: Components of the drive shaft
1 Bevel gear 2 Hose clip
3 Telescopic protective tube 4 Coupling bracket
5 Square tube 6 Coupling bolt
7 Adapter ring 8 Protective cover

Table of Contents

Related product manuals