EasyManua.ls Logo

MUTOH SC-1000 - PCB Box Left and Right SC-550

MUTOH SC-1000
120 pages
Print Icon
To Next Page IconTo Next Page
To Next Page IconTo Next Page
To Previous Page IconTo Previous Page
To Previous Page IconTo Previous Page
Loading...
Maintenance Manual – SC Cutting Plotter
104 AP-74030, Rev / B
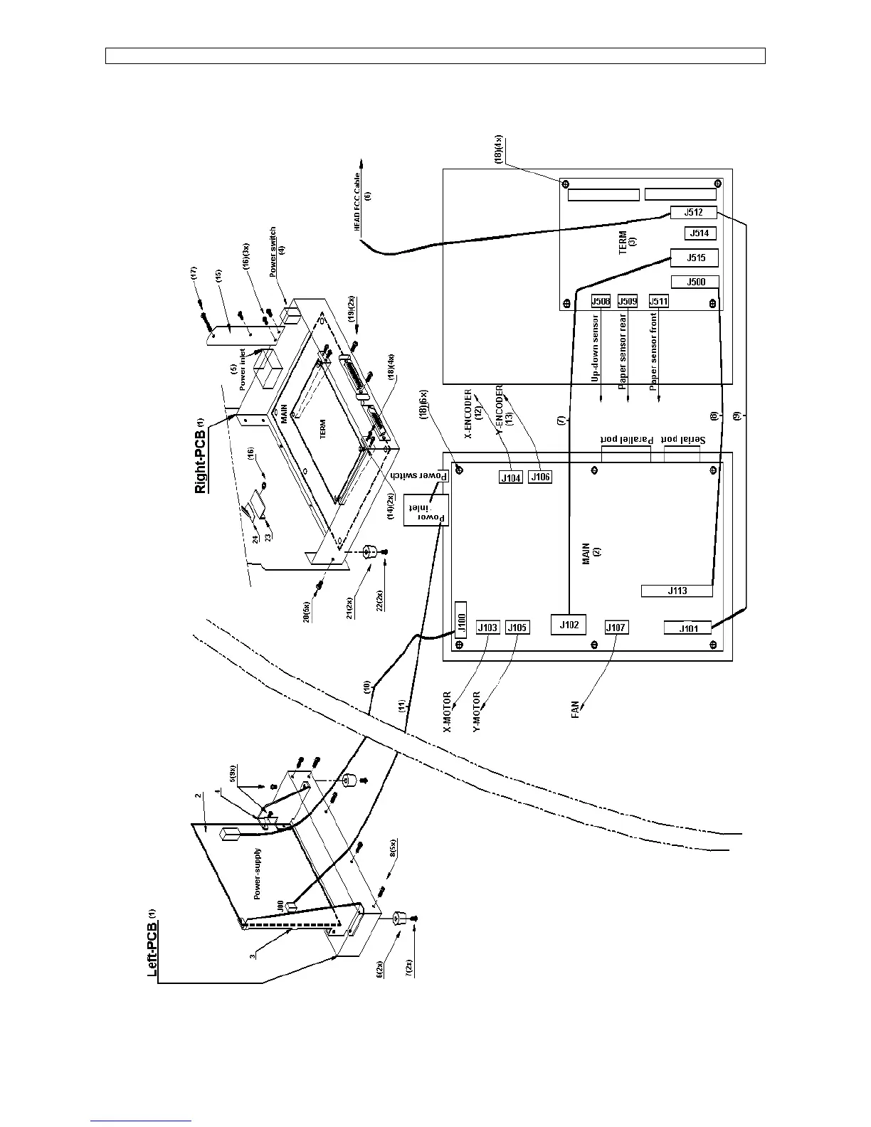
9.4. PCB box left and right SC-550.

Table of Contents

Related product manuals