EasyManua.ls Logo

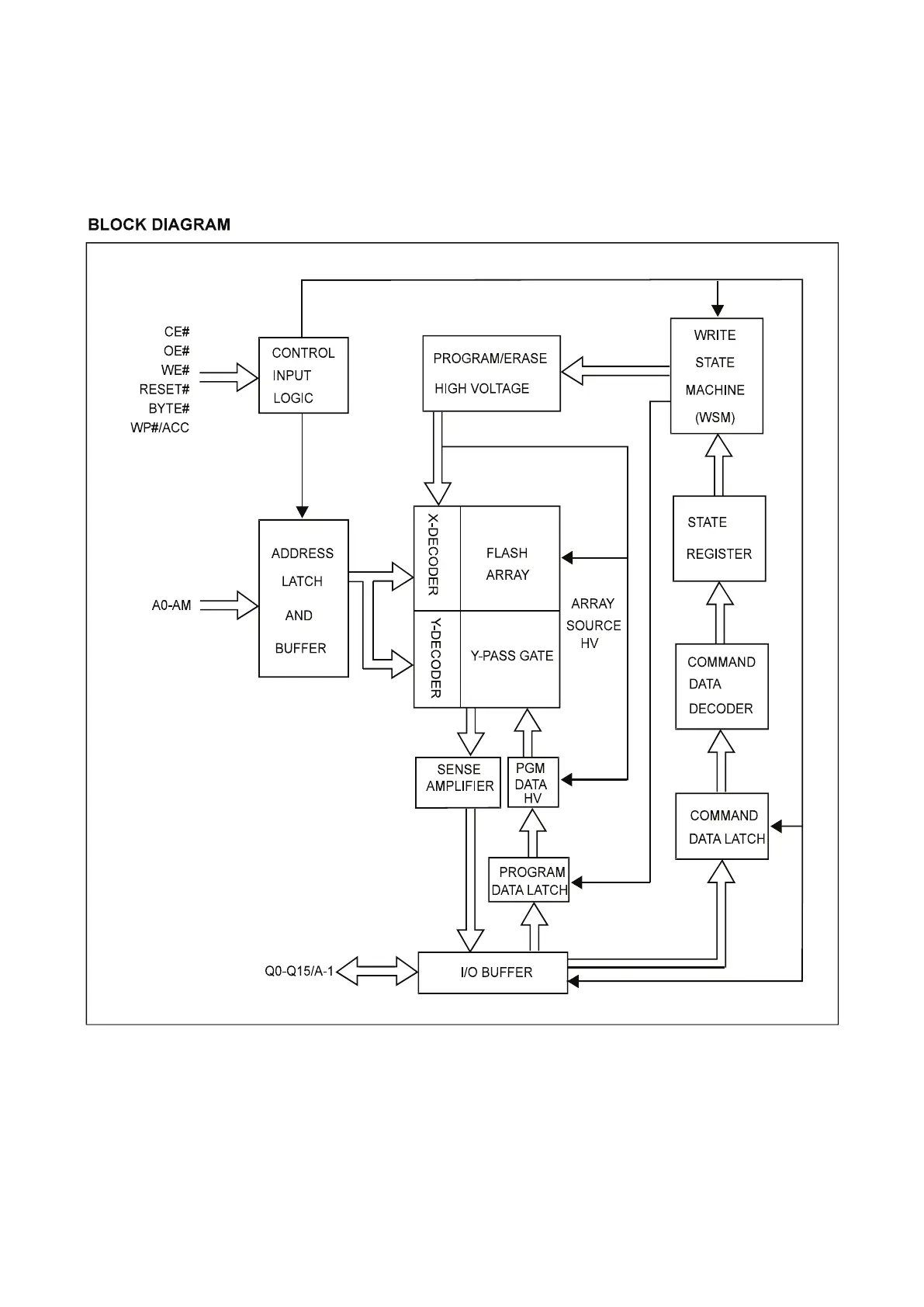
NAD T748 - IC211: MX29 LV32 DTTI - 70 G (FLASH OF DSP)

NAD T748
122 pages
Print Icon
To Next Page IconTo Next Page
To Next Page IconTo Next Page
To Previous Page IconTo Previous Page
To Previous Page IconTo Previous Page
Loading...
IC 211 : MX29LV32DTTI - 70G (FLASH OF DSP)
2-6

Related product manuals