EasyManua.ls Logo

NADAMOO E3000 - Product Display; Interface Description

NADAMOO E3000
50 pages
Print Icon
To Next Page IconTo Next Page
To Next Page IconTo Next Page
To Previous Page IconTo Previous Page
To Previous Page IconTo Previous Page
Loading...
2
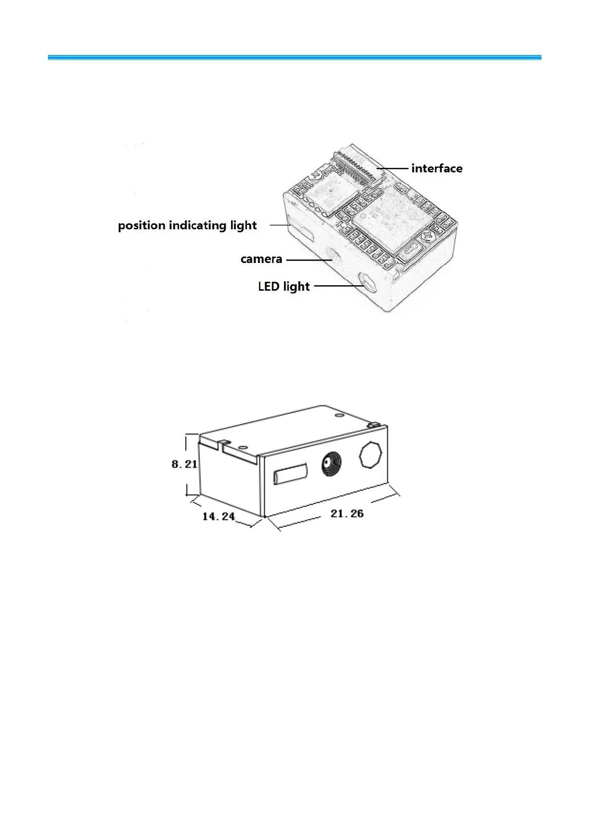
1.3 Product display
1.3.1 External view
1.3.2 Sizemm
1.4 Interface description
Product standard interfaces are: RS232 (DB9 orifice), TTL, USB KeyboardUSD HID,
Keyboard and Wiegand. Standard interface of different products are not the same, please
confirm before purchase, other interfaces can be customized according to customer needs.

Related product manuals