EasyManua.ls Logo

NAiS FP0-C14RS

Default Icon
173 pages
To Next Page IconTo Next Page
To Next Page IconTo Next Page
To Previous Page IconTo Previous Page
To Previous Page IconTo Previous Page
Loading...
Wiring
FP0
7-12
Matsushita Automation Controls
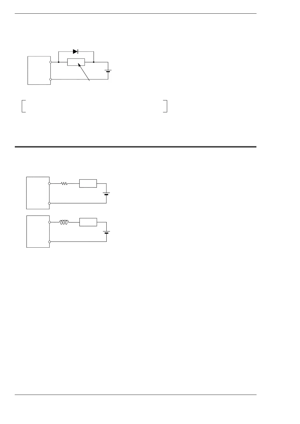
7.5 Output Wiring
When using a DC inductive load
FP0
DC inductive load
Reverse voltage (V
R
): 3 times the load voltage
Average rectified forward current (I
0
): Load current or more
(
*
) Diode:
COM
Output
terminal
Diode (
*
)
7.5.2 Precautions for Using Capacitive Loads
When connecting loads with large in-rush currents, to minimize their effect, connect a
protection circuit as shown below.
Inductor
FP0
FP0
COM
Output
terminal
Resistor
COM
Output
terminal
Load
Load

Table of Contents

Related product manuals