EasyManua.ls Logo

NAiS FP0-C14RS

Default Icon
173 pages
To Next Page IconTo Next Page
To Next Page IconTo Next Page
To Previous Page IconTo Previous Page
To Previous Page IconTo Previous Page
Loading...
Expansion I/O Units
FP0
3-19
Matsushita Automation Controls
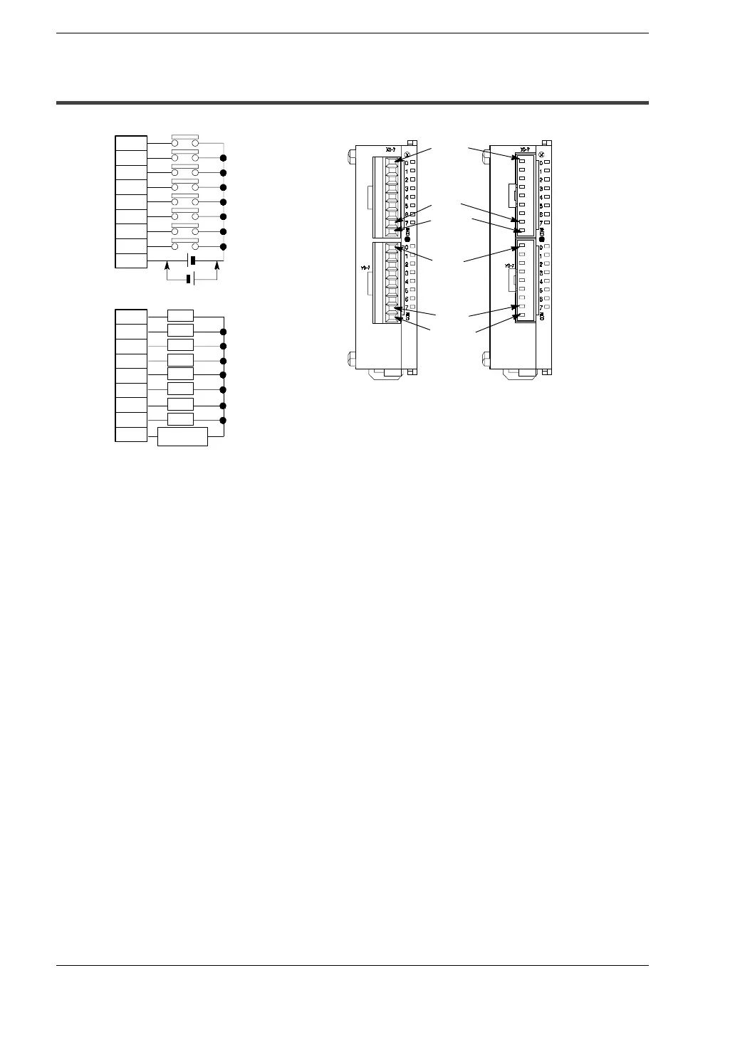
3.4 Pin Layouts
3.4.2 E16RS/E16RM
Y25
E16RS E16RM
X20
X27
COM
Y20
Y27
COM
COM
X20
X21
X26
X27
X22
X23
X24
X25
COM
Input
Output
Y20
Y21
Y26
Y27
Y22
Y23
Y24
Load
Load
Load
Load
Load
Load
Load
Load
(
*
Note)
Power
supply
.
Notes
D
Either positive or negative polarity is possible for the input
voltage supply.
D
The I/O number given above is the I/O number when the
expansion I/O unit is installed as the first expansion unit.
The I/O numbers for the expansion I/O units will differ
depending on the location where they are installed
(
*
section 5.3).

Table of Contents

Related product manuals