EasyManua.ls Logo

NAiS FP0-C14RS

Default Icon
173 pages
To Next Page IconTo Next Page
To Next Page IconTo Next Page
To Previous Page IconTo Previous Page
To Previous Page IconTo Previous Page
Loading...
Control Units
FP0
2-25
Matsushita Automation Controls
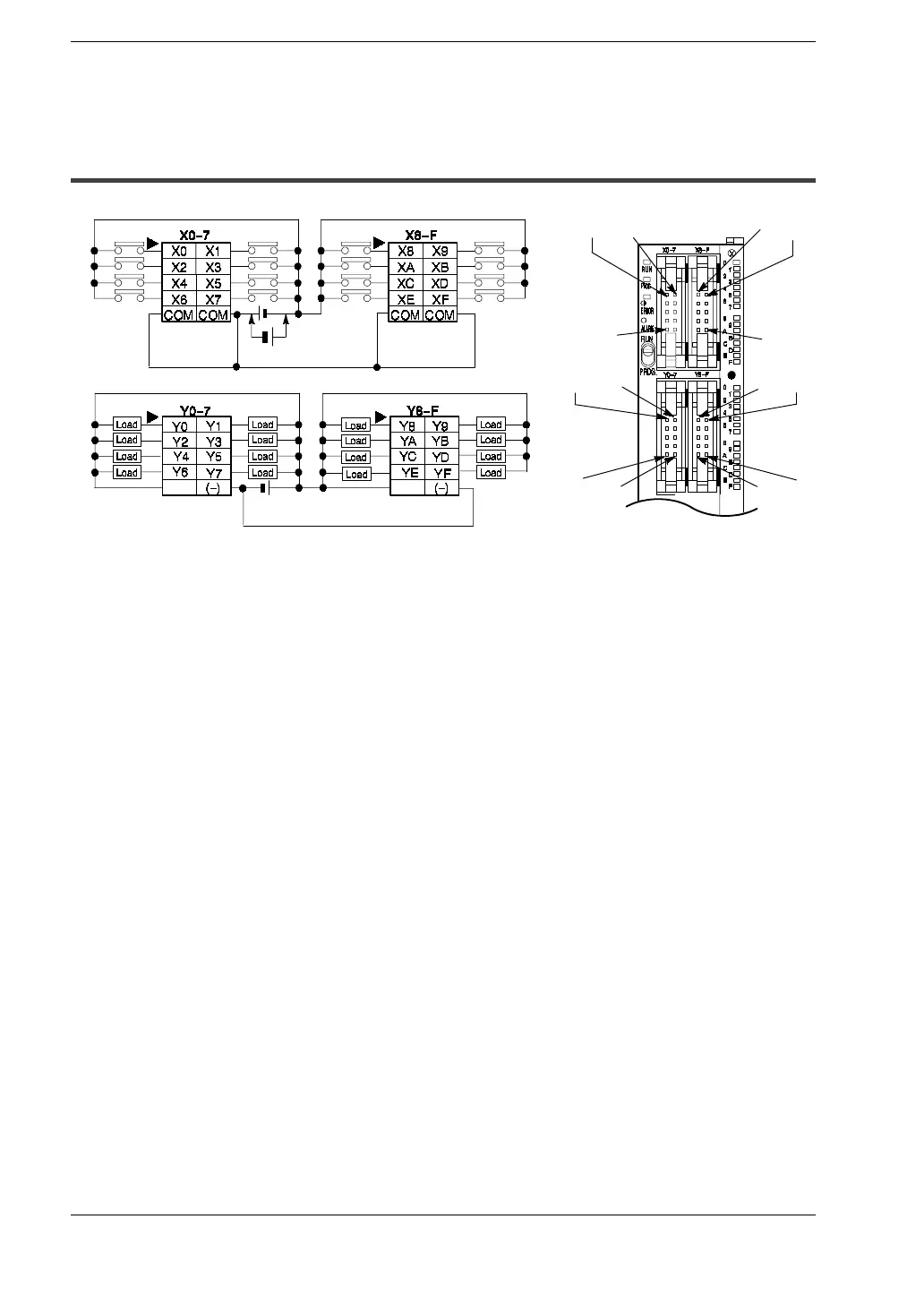
2.4 Pin Layouts
2.4.5 C32T/C32CT
(+)
C32T/C32CT
X8
Y8 Y9
X9
X0 X1
Y1
COM
COM
(-)(+) (+) ( -)
Input Input
Output Output
Y0
(+)
(
*
Note 1)
.
Notes
D
The four COM terminals of input terminals (X0 -7 and X8-F) are
connected internally, however they should be externally
connected as well.
D
The (+) terminals of output terminals (Y0 - 7) and output
terminals (Y8- F) are connected internally, however they
should be externally connected as well.
D
The ( -) terminals of output terminals (Y0-7) and output
terminals (Y8- F) are connected internally, however they
should be externally connected as well.
D
(
*
1): Either positive or negative polarity is possible for the input
voltage supply.

Table of Contents

Related product manuals