EasyManua.ls Logo

NARDA RadMan - Page 36

NARDA RadMan
60 pages
Print Icon
To Next Page IconTo Next Page
To Next Page IconTo Next Page
To Previous Page IconTo Previous Page
To Previous Page IconTo Previous Page
Loading...
34
Operation
and use
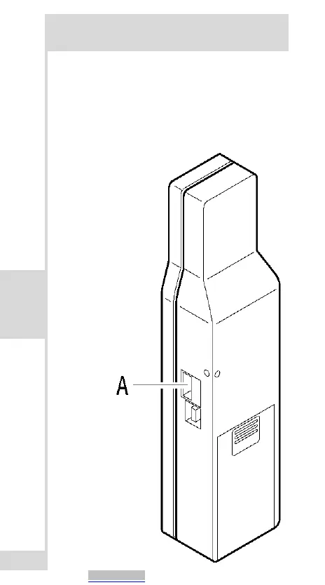
Reading out measured values
The measured values can be read out via the
optical interface (A) of the ESM “RadMan”.
Data is transferred at a rate of 25 measured
values per second.
Applications and use
Downloaded from Arrow.com.

Related product manuals