EasyManua.ls Logo

National Instruments GPIB-USB-HS - Page 12

National Instruments GPIB-USB-HS
35 pages
Print Icon
To Next Page IconTo Next Page
To Next Page IconTo Next Page
To Previous Page IconTo Previous Page
To Previous Page IconTo Previous Page
Loading...
GPIB Hardware Installation Guide and Specifications | © National Instruments | 11
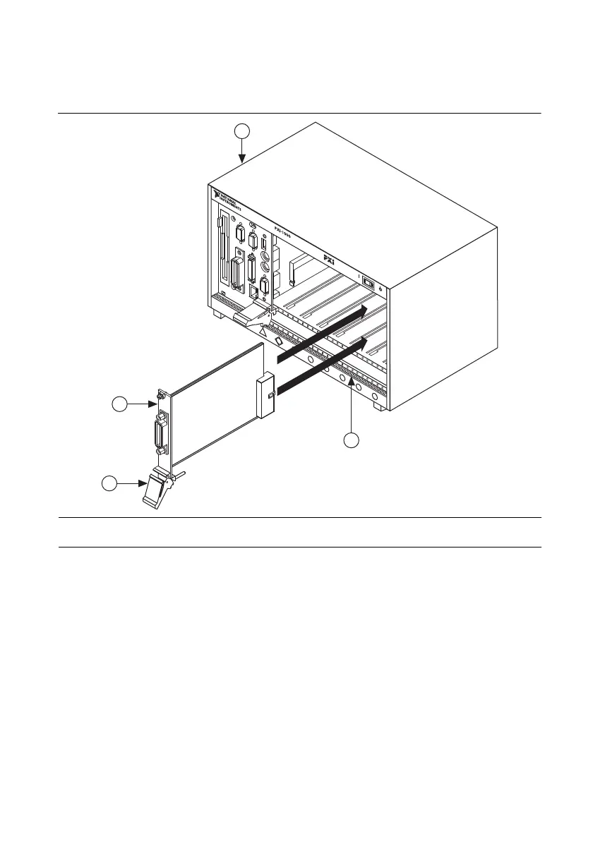
5. Insert your PXI card into the selected 5 V slot. Use the injector/ejector handle to fully inject
the device into place. Figure 5 shows how to install your PXI card into a PXI or
CompactPCI chassis.
Figure 5. Installing Your PXI Card
6. Screw the front panel of the PXI card to the front panel mounting rail of the PXI or
CompactPCI chassis.
7. Power on your PXI or CompactPCI chassis.
The PXI card installation is now complete.
1 Injector/Ejector Handle (In Down Position)
2 Your PXI Card
3 PXI Chassis
4 Injector/Ejector Rail
8
7
6
5
4
3
2
1
ON STANDBY
1
2
3
4

Other manuals for National Instruments GPIB-USB-HS

Related product manuals