EasyManua.ls Logo

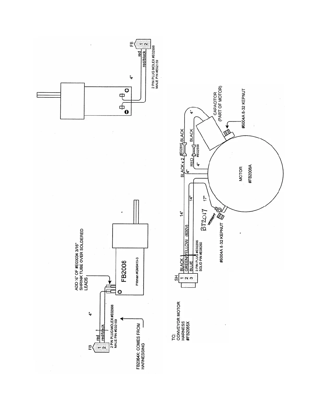
NFL 2 MINUTE DRILL - FB2008 X Target Motor Assembly; FB2008 BAX Conveyor Motor Assembly

Default Icon
59 pages
Print Icon
To Next Page IconTo Next Page
To Next Page IconTo Next Page
To Previous Page IconTo Previous Page
To Previous Page IconTo Previous Page
Loading...
44
FB2008X:
Target motor assembly
FB2008BAX
Conveyor motor assembly