EasyManua.ls Logo

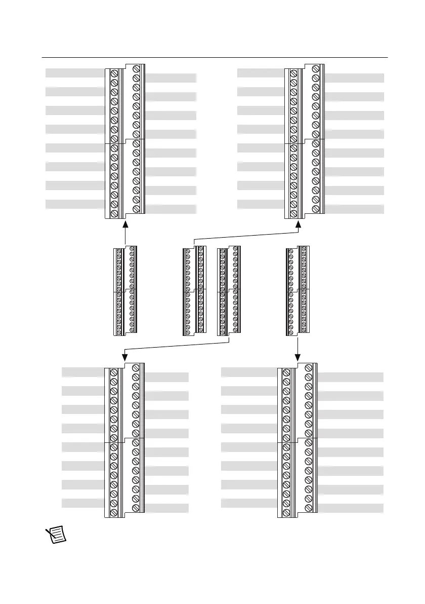
NI 6366 - Figure A-13. ni USB-6349 Screw Terminal Pinout

Default Icon
277 pages
Print Icon
To Next Page IconTo Next Page
To Next Page IconTo Next Page
To Previous Page IconTo Previous Page
To Previous Page IconTo Previous Page
Loading...
© National Instruments | A-19
X Series User Manual
Figure A-13. NI USB-6349 Screw Terminal Pinout
Note Refer to Table 7-9, X Series PCI Express/PXI Express/USB Mass
Termination/USB BNC Device Default NI-DAQmx Counter/Timer Pins, for a list of
17
18
19
20
21
22
23
24
25
26
27
28
29
30
31
32
AI 4+
AI 4–
AI GND
AI 5+
AI 5–
AI GND
AI 6+
AI 6–
AI GND
AI 7+
AI 7–
AI GND
APFI 0
AI GND
AO 1
AO GND
AI 0+
AI 0–
AI GND
AI 1+
AI 1–
AI GND
AI 2+
AI 2–
AI GND
AI 3+
AI 3
AI GND
RESERVED
AI GND
AO 0
AO GND
1
2
3
4
5
6
7
8
9
10
11
12
13
14
15
16
49
50
51
52
53
54
55
56
57
58
59
60
61
62
63
64
33
34
35
36
37
38
39
40
41
42
43
44
45
46
47
48
81
82
83
84
85
86
87
88
89
90
91
92
93
94
95
96
65
66
67
68
69
70
71
72
73
74
75
76
77
78
79
80
113
114
115
116
117
118
119
120
121
122
123
124
125
126
127
128
PFI 8/P2.0
D GND
PFI 9/P2.1
D GND
PFI 10/P2.2
D GND
PFI 11/P2.3
D GND
PFI 12/P2.4
D GND
PFI 13/P2.5
D GND
PFI 14/P2.6
D GND
PFI 15/P2.7
+5 V
P0.0
P0.1
P0.2
P0.3
P0.4
P0.5
P0.6
P0.7
PFI 0/P1.0
PFI 1/P1.1
PFI 2/P1.2
PFI 3/P1.3
PFI 4/P1.4
PFI 5/P1.5
PFI 6/P1.6
PFI 7/P1.7
97
98
99
100
101
102
103
104
105
106
107
108
109
110
111
112
AI 8+
AI 8
AI GND
AI 9+
AI 9–
AI GND
AI 10+
AI 10–
AI 11+
AI 11–
AI GND
AI 12+
AI 12–
AI GND
AI 13+
AI 13
AI 14+
AI 14–
AI GND
AI 15+
AI 15–
AI GND
AI 16+
AI 16–
AI 17+
AI 17–
RESERVED
AI 18+
AI 18
AI GND
AI 19+
AI 19–
AI 20+
AI 20–
AI GND
AI 21+
AI 21–
AI GND
AI 22+
AI 22–
AI 23+
AI 23
AI GND
AI 24+
AI 24–
AI GND
AI 25+
AI 25–
AI 26+
AI 26–
AI GND
AI 27+
AI 27–
AI GND
AI 28+
AI 28
AI 29+
AI 29–
AI GND
AI 30+
AI 30–
AI GND
AI 31+
AI 31–

Table of Contents

Related product manuals