EasyManua.ls Logo

Nibe VPB - Technische Gegevens

Nibe VPB
Print Icon
To Next Page IconTo Next Page
To Next Page IconTo Next Page
To Previous Page IconTo Previous Page
To Previous Page IconTo Previous Page
Loading...
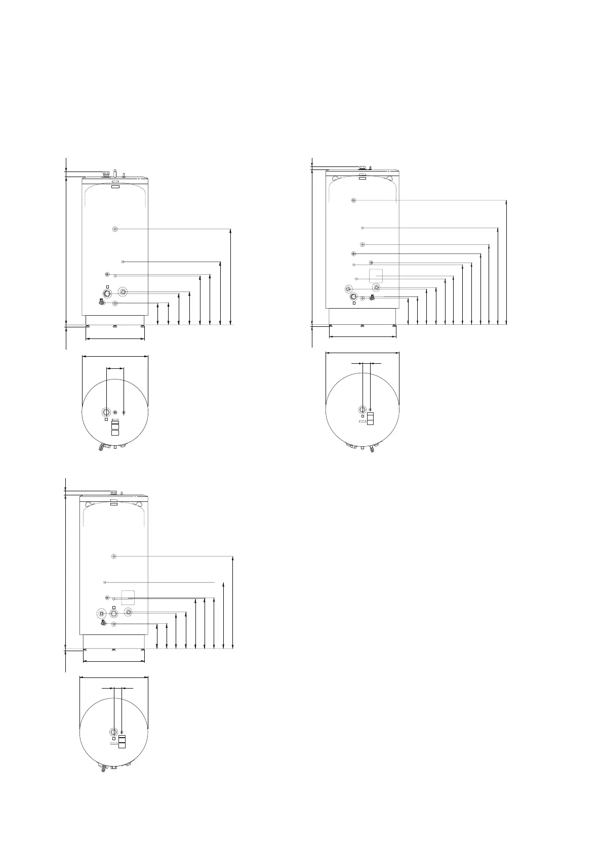
Technische gegevens
Afmetingen
VPB 1000VPB 500
20-55
40
2020
100
Ø 950
Ø 870
342
364
484
613
633
797
806
922
1042
1277
1619
465
20–55
60
1690
245
253
357
377
556
577
715
1095
200
Ø 750
Ø 670
VPB 750
20-55
40
1925
100
Ø 850
Ø 770
306
314
438
458
620
637
638
830
1236
NIBE VPB | NL50

Other manuals for Nibe VPB

Related product manuals