EasyManua.ls Logo

Nokia 2630 RM-298 - IHF;Ringing Tone Fault

Nokia 2630 RM-298
174 pages
To Next Page IconTo Next Page
To Next Page IconTo Next Page
To Previous Page IconTo Previous Page
To Previous Page IconTo Previous Page
Loading...
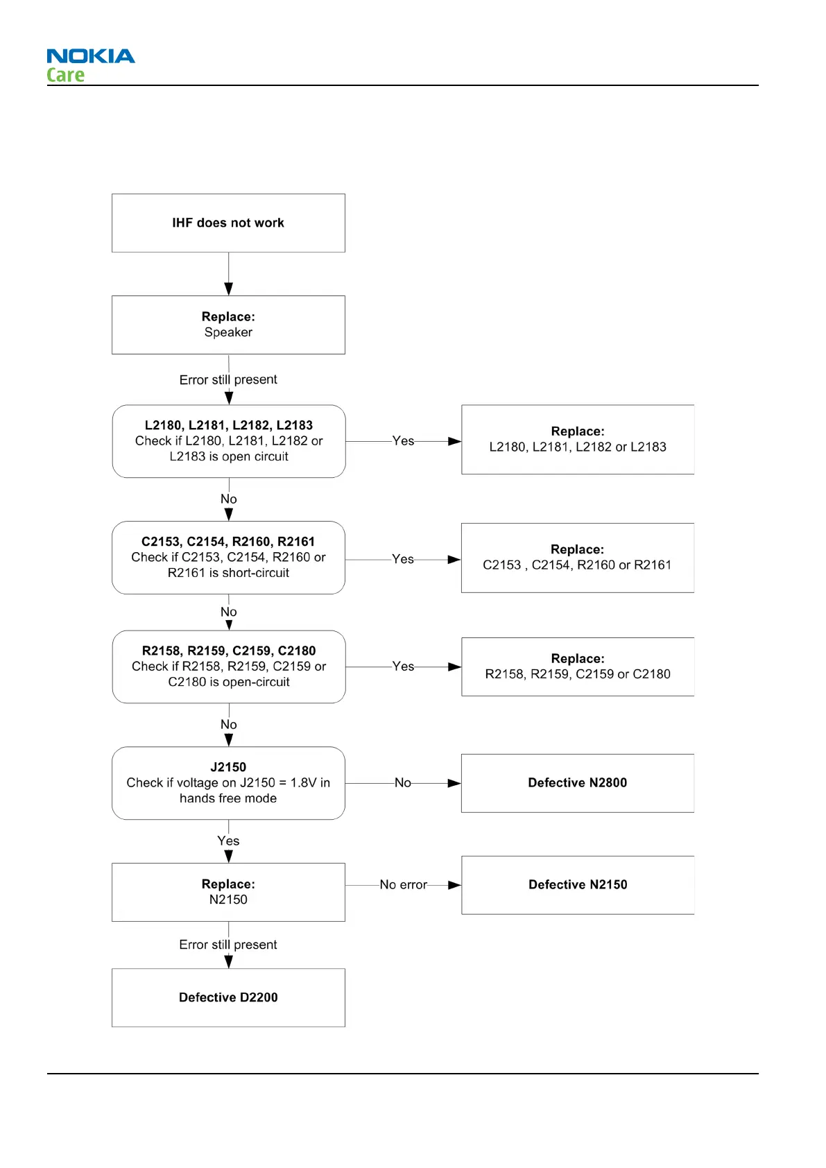
IHF/ringing tone fault
Troubleshooting flow
Figure 25 IHF/ringing tone fault flow chart
RM-298; RM-299
Baseband Troubleshooting Instructions
Page 3 –24 COMPANY CONFIDENTIAL Issue 1
Copyright © 2007 Nokia. All rights reserved.

Table of Contents

Related product manuals