EasyManua.ls Logo

Novatech 409C - Theory of Operation

Novatech 409C
16 pages
Print Icon
To Next Page IconTo Next Page
To Next Page IconTo Next Page
To Previous Page IconTo Previous Page
To Previous Page IconTo Previous Page
Loading...
NOVATECH INSTRUMENTS 12 409C Manual Rev 1.12
maximum of 1020/Fs where Fs is the Synthesis Clock
frequency as displayed with the ‘q’ command.
NOTE:
Entering a step time t that is larger than the maximum
allowed value for t will result in the step time being set
to the maximum allowed value.
4.22 Total Sweep Time. To compute the total time a
sweep will take, first compute the total number of steps.
This is the begin frequency minus the end frequency di-
vided by the frequency step size. The sweep time will
then be the number of steps times the step time.
4.23 Running a Sweep. To execute a sweep the user
must first enable sweeps using the ‘SWENBN x’ com-
mand where x can be E for enabled and D for disabled.
Once enabled the sweep must be triggered with a rising
edge on the trigger input to start a rising sweep and a
falling edge to start a falling sweep . Triggering is done
using the ‘PPn 0’ and “PPn 1’commands or sending the
‘PPn x’ command and then applying a 3.3V signal on
connector J8. See example on page 6.
4.24 Sweep Default Settings. The default sweep set-
tings for output channel 0 are as follows:
F0=10.0000000 P0=0.00 V0=1.000
(Begin frequency = 10MHz, Phase = 0, Vout = 1Vpp)
SWEF0=150.0000000
(Ending frequency = 150MHz)
SWRSF0=1.0000000 SWFSF0=1.0000000
(Rising and falling frequency steps = 1 MHz)
SWRST0=1.000 SWFST0=1.000
(Rising and falling time steps = 1 microsecond)
SWMD0=S SWENB0=D
(Sweep mode set to Ramp up and Step down. Sweep Enable/
Disable set to Disable)
4.25 Sending Sweep Commands. It is recommended
that the SOF8_409 software command menu be used to
set the sweep parameters and run the sweep. Sending a
‘q’ command will display the current settings of the
sweep parameters on all output channels.
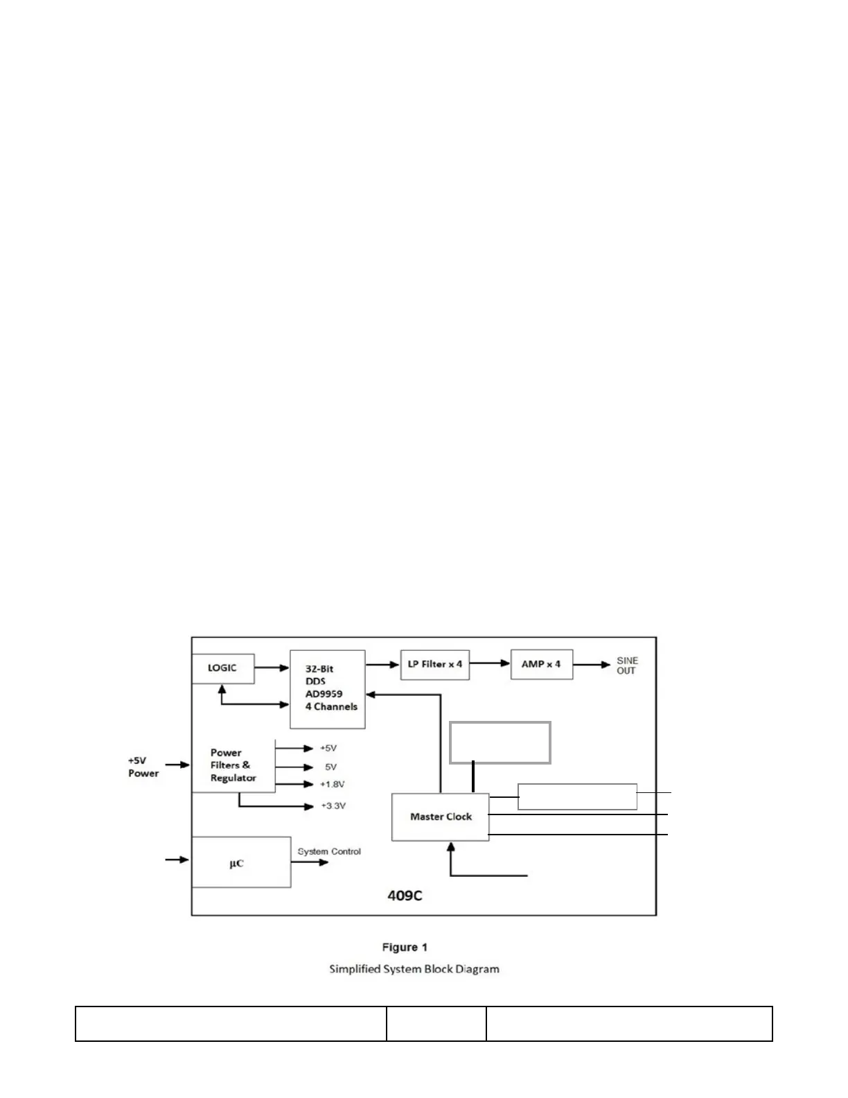
5.0 THEORY OF OPERATION
5.1 Block Diagram. Please refer to the simplified Sys-
tem Block Diagram below for the following discussion.
5.2 DDS. At every cycle of the 409C system clock, the
AD9959 integrated circuit increments the phase of an
internal register by a value calculated from the frequency
command and sent to the AD9959 by the microcontrol-
ler. The AD9959 converts this phase value to a sinusoi-
dal amplitude level and then sets the values of on-chip
Rear BNC & /R
Rear BNC
Rear SMA
Clock
Select
Command
Internal TCXO
Serial Commands
/R Daughter board
Note: Master Clock is the synthesizer clock prior
to applying the AD9959 clock mulplier