EasyManua.ls Logo

NTI C85-340 - Page 19

NTI C85-340
40 pages
Print Icon
To Next Page IconTo Next Page
To Next Page IconTo Next Page
To Previous Page IconTo Previous Page
To Previous Page IconTo Previous Page
Loading...
C 85-340 Direct Vent - Installation & Operation Instructions Caprice
19
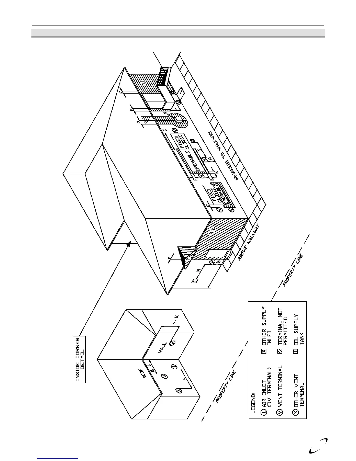
Figure 7-1 Termination Clearance Quick Reference Diagram

Related product manuals