EasyManua.ls Logo

Olympus 170 - Selftimer

Olympus 170
69 pages
Print Icon
To Next Page IconTo Next Page
To Next Page IconTo Next Page
To Previous Page IconTo Previous Page
To Previous Page IconTo Previous Page
Loading...
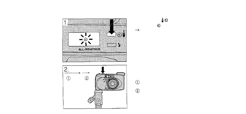
SELFTIMER
1. Press the button to
display .
Fix the camera on a tripod or
other support.
2. Aim at your subject, and
press the shutter release
button. The shutter will be
released about 12
seconds after you press
the button. The selftimer
automatically disengages
after release.
10 sec: Selftimer indicator
lights
2 sec: Blinks
43

Related product manuals