EasyManua.ls Logo

Olympus 170 - Using the RC-200 Remote Control (optional)

Olympus 170
69 pages
Print Icon
To Next Page IconTo Next Page
To Next Page IconTo Next Page
To Previous Page IconTo Previous Page
To Previous Page IconTo Previous Page
Loading...
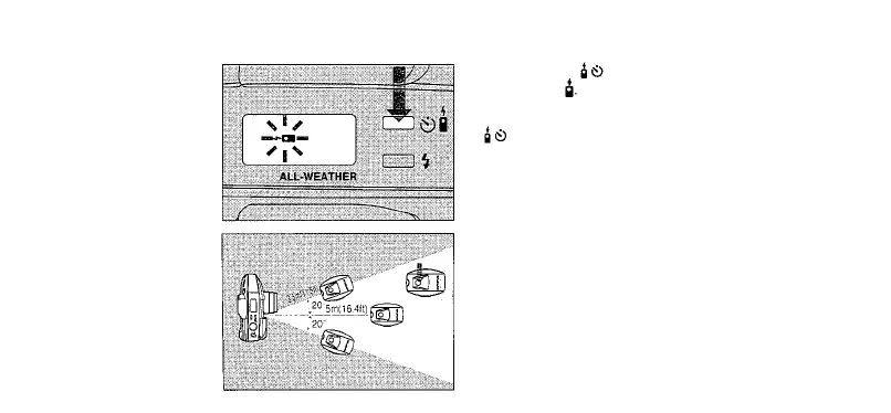
USING THE RC-200 REMOTE
CONTROL (optional)
1. Press the button to
display
To cancel this mode, press the
button again.
2. Aim the remote control at
the camera, and press the
button. The shutter will be
released after about 3
seconds.
45

Related product manuals