EasyManua.ls Logo

Omron BP7450 - Page 34

Omron BP7450
54 pages
Print Icon
To Next Page IconTo Next Page
To Next Page IconTo Next Page
To Previous Page IconTo Previous Page
To Previous Page IconTo Previous Page
Loading...
5. Using Memory Function
33
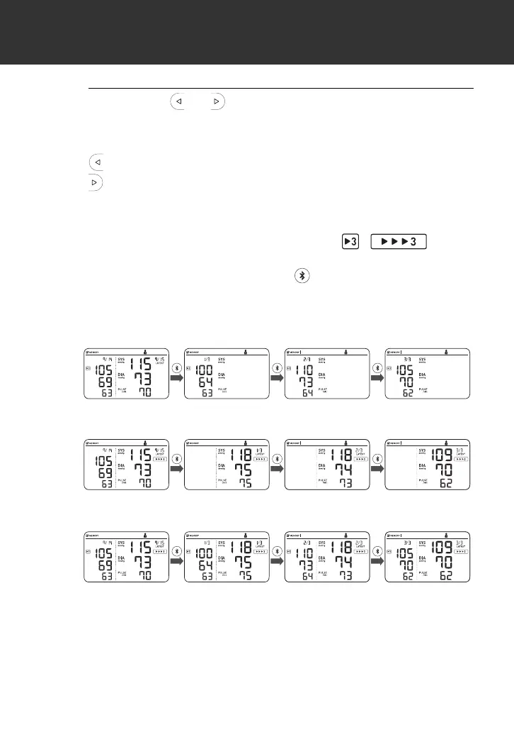
3. Press the or button repeatedly to scroll
through the previous readings stored in the
memory.
: To view the older readings
: To view the more recent readings
To view individual readings in TruRead measurement
The readings with the TruRead symbols ( / ) are
the averages for the consecutive 3 measurements. To view
the individual readings, press the button (rear surface of
the monitor) while the TruRead average is displayed.
1. When a TruRead reading is the past reading displayed on
the left side:
2. When a TruRead reading is the latest reading displayed on
the right side:
3. When TruRead readings are the past and the latest
readings displayed in both of left and right side:

Related product manuals