EasyManua.ls Logo

Omron C200HX Series - Page 173

Omron C200HX Series
241 pages
To Next Page IconTo Next Page
To Next Page IconTo Next Page
To Previous Page IconTo Previous Page
To Previous Page IconTo Previous Page
Loading...
Appendix BSpecifications
161
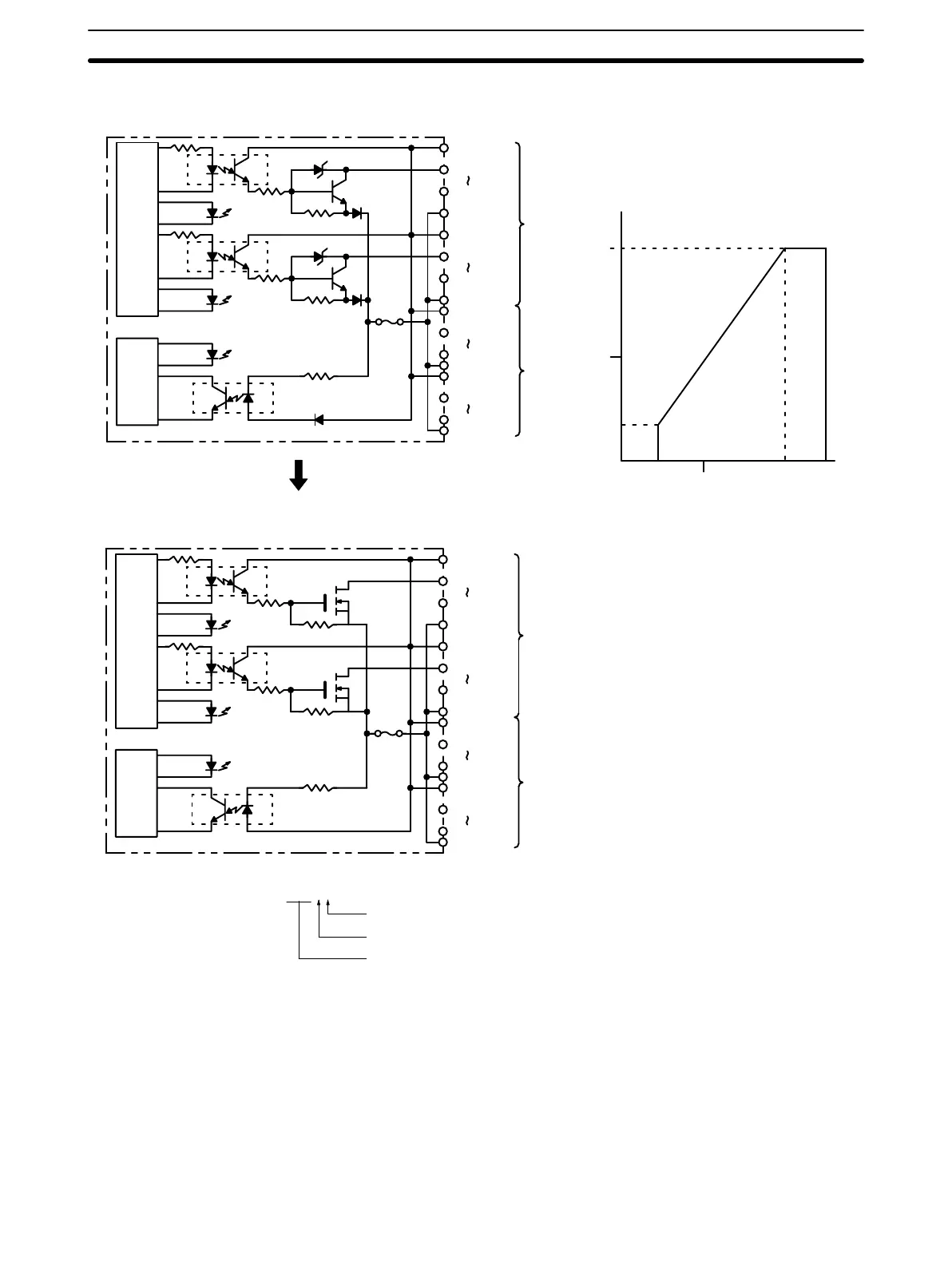
Circuit Configuration and Maximum Switching Capacity
Units manufactured on or before January 28th, 2000
(manufacturing numbers 2810 or earlier*)
Units manufactured on or after January 31st, 2000
(manufacturing numbers 3110 or later*)
Output
indicator
Fuse
(3.5 A)
F indicator
Output
indicator
OUT00
OUT07
COM
A
Internal
Circuit
4.5 to
26.4 VDC
4.5 to
26.4 VDC
OUT08
OUT15
COM
OUT00
OUT07
COM
B
OUT08
OUT15
COM
4.5 to
26.4 VDC
4.5 to
26.4 VDC
Output
indicator
Fuse
blowout
detec-
tion cir-
cuit
Fuse
(3.5 A)
F indicator
Output
indicator
OUT00
OUT07
COM
A
Internal
Circuit
4.5 to
26.4 VDC
4.5 to
26.4 VDC
OUT08
OUT15
COM
OUT00
OUT07
COM
B
OUT08
OUT15
COM
4.5 to 26.4
VDC
4.5 to
26.4 VDC
Fuse
blowout
detec-
tion cir-
cuit
Power Supply Voltage (V)
Max. Switching Capacity (mA/pt)
0 4.5 10 20.4 26.4
50
100
16
0
*Manufacturing Numbers
jjY9
Year: Last digit of calendar year; e.g., 19999, 20000
Month: 1 to 9 (January to September), X (October), Y (November), Z (December)
Day: 01 to 31

Table of Contents

Other manuals for Omron C200HX Series

Related product manuals