EasyManua.ls Logo

Omron SYSDRIVE 3G3FV-*-CUE - Page 57

Omron SYSDRIVE 3G3FV-*-CUE
78 pages
Print Icon
To Next Page IconTo Next Page
To Next Page IconTo Next Page
To Previous Page IconTo Previous Page
To Previous Page IconTo Previous Page
Loading...
www.dadehpardazan.ir 88594014-15
!
2-38
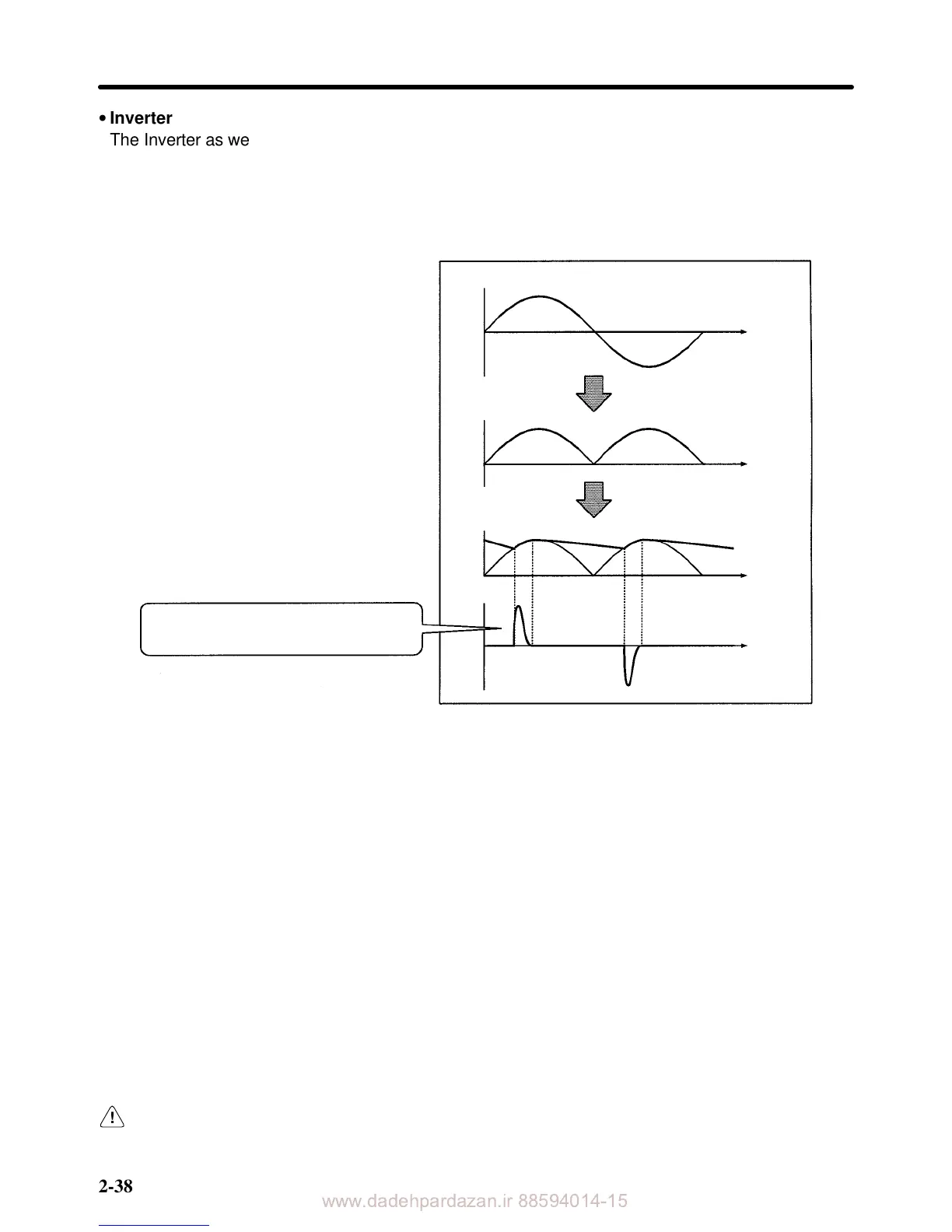
Inverter
The Inverter as well as normal electric machines has an input current containing harmonics because
the Inverter converts AC into DC.
The output current of the Inverter is comparatively high. Therefore, the ratio of harmonics in the output
current of the Inverter is higher than that of any other electric machine.
Voltage
Voltage
Voltage
Current
Time
Time
Time
Time
Rectified
Smoothed
A current flows into the capacitors. The
current is different from the voltage in
waveform.
D Countermeasures with Reactors against Harmonics Generation
DC/AC Reactors
The DC reactor and AC reactor suppress harmonics and currents that change suddenly and greatly.
The DC reactor suppresses harmonics better than the AC reactor. The DC reactor used with the AC
reactor suppresses harmonics more effectively.
The input power factor of the Inverter is improved by suppressing the harmonics in the input current of
the Inverter.
Note 18.5- to 160-kW models have a built-in DC reactor.
Connection
Connect the DC reactor to the internal DC power supply of the Inverter after shutting off the power
supply to the Inverter and making sure that the charge indicator of the Inverter turns off.
WARNING Do not touch the internal circuitry of the Inverter in operation, otherwise an electric
shock or a burn injury may occur.
Installation Chapter 2

Related product manuals