EasyManua.ls Logo

Oppo DV-983H - Rear Panel Connectors

Oppo DV-983H
70 pages
Print Icon
To Next Page IconTo Next Page
To Next Page IconTo Next Page
To Previous Page IconTo Previous Page
To Previous Page IconTo Previous Page
Loading...
INSTALLATION
6
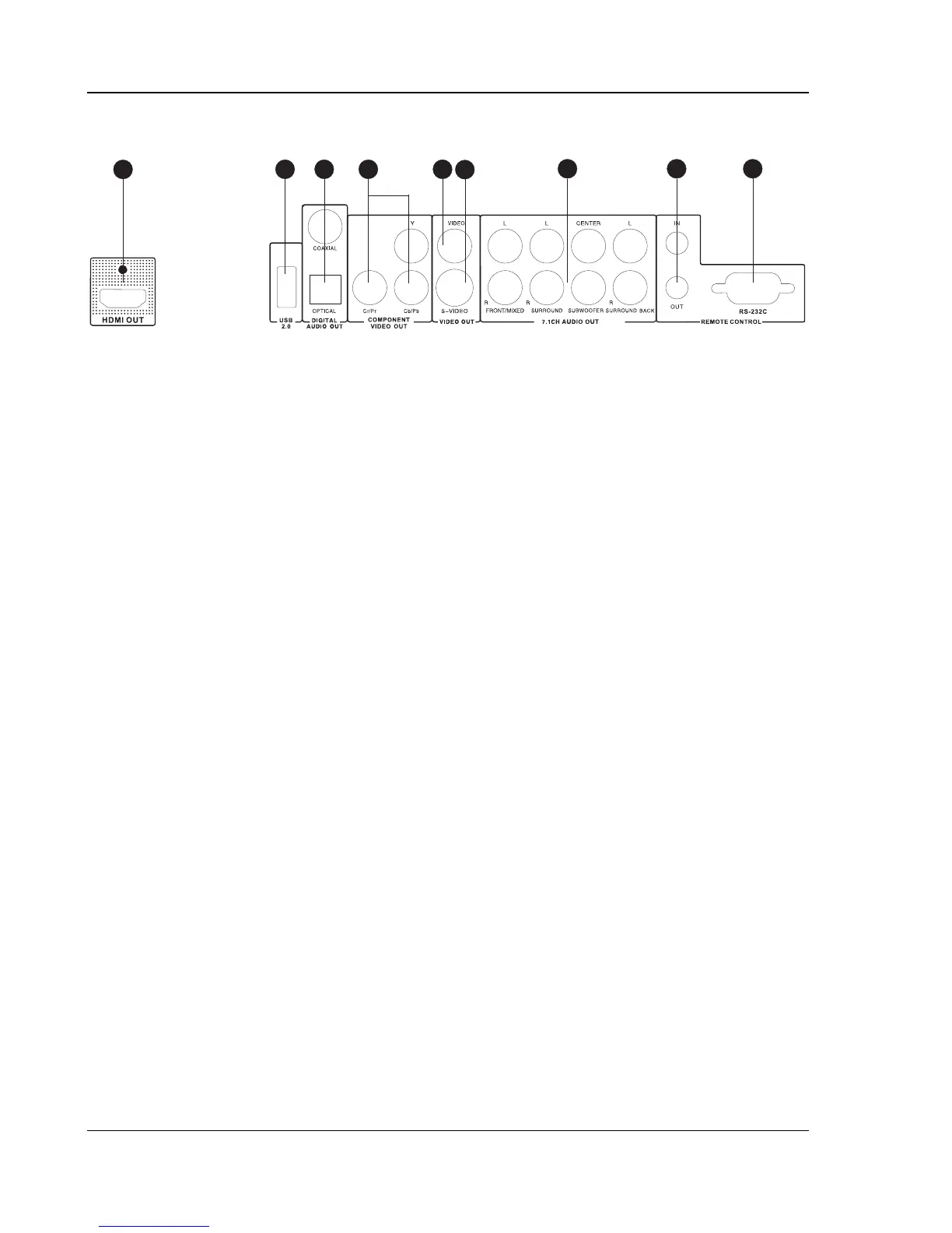
Rear Panel Connectors
1
7
2 3 4 5
6
8 9
1. HDMI Output 2. USB 2.0 Port 3. Coaxial and Optical Digital
Audio Output
4. Component Video Output 5. Composite Video Output 6. S-Video Output
7. 7.1CH Audio Output 8. IR IN and OUT Ports 9. RS-232 Port
In addition to the above connectors, the AC power inlet is also located on the rear panel. The inlet is the
IEC60-320 C18 type. Only the included AC power cord or an approved power cord with an IEC60-320 C17
type plug should be used.

Table of Contents