EasyManua.ls Logo

ORTEC 142A - Energy Output Details; Timing Output Details

ORTEC 142A
16 pages
Print Icon
To Next Page IconTo Next Page
To Next Page IconTo Next Page
To Previous Page IconTo Previous Page
To Previous Page IconTo Previous Page
Loading...
6
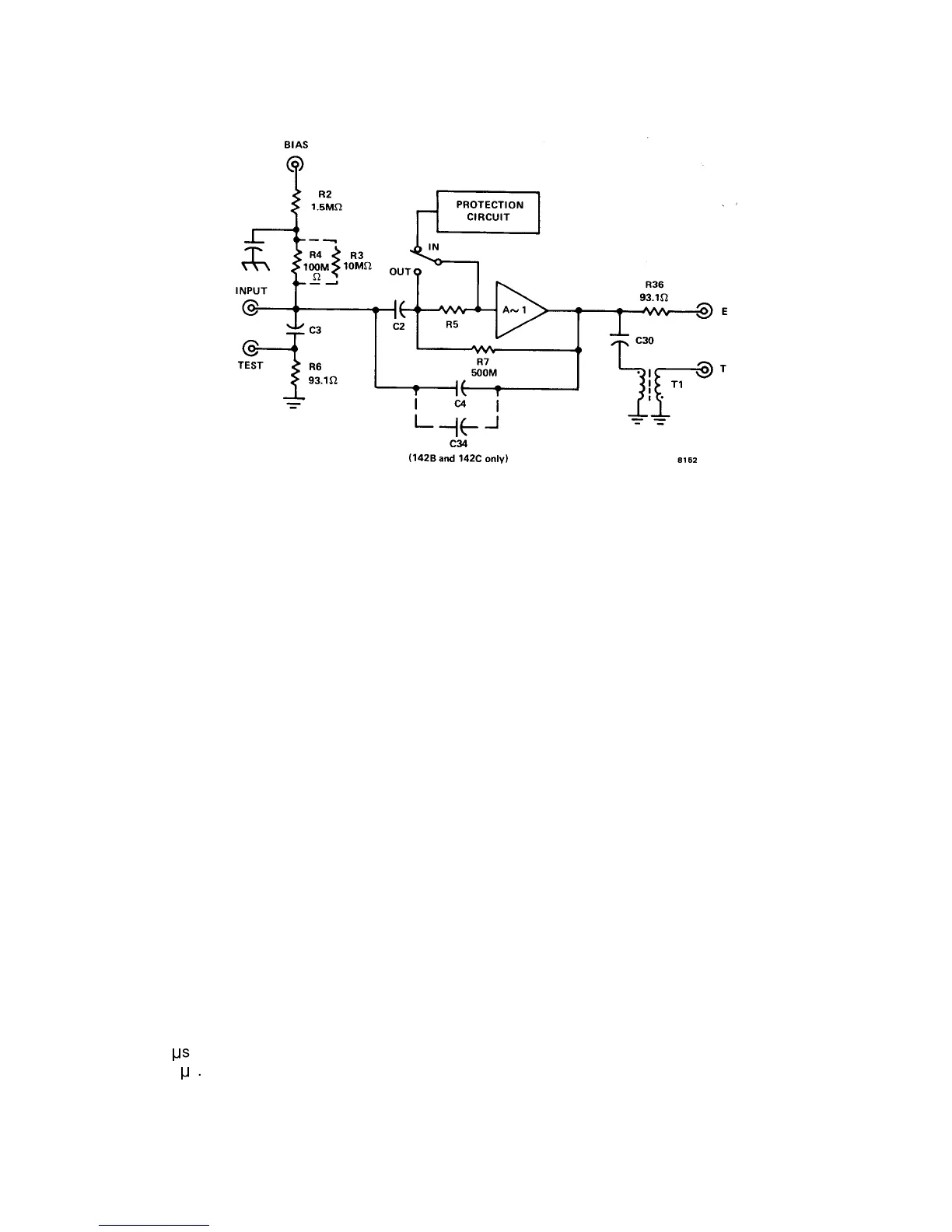
Fig. 4.1. Simplified Block Diagram of the Circuitry
in ORTEC’s 142A, 142B, and 142C Preamplifiers.
4.3. ENERGY OUTPUT
The charge-sensitive loop is essentially an
operational amplifier with capacitive feedback. The
feedback capacitor in the 142A is C4, with a value
of 1 pF, and the conversion gain is nominally 45
mV/MeV. The 142B and C circuits add C34 in
parallel with C4 for a total feedback capacitance of
2 pF, and the conversion gain is about 20 mV/MeV.
The conversion gain of either preamplifier can be
increased by decreasing the value of the feedback
capacity but a subsequent increase in rise time will
result.
The upper limit on the conversion gain is the stray
capacity in the circuit with C4 (and C34) completely
removed. The stray capacity is about 0.1 toO.2 pF.
If less conversion gain is desired, the value of the
feedback capacity can be increased, but this may
affect the stability of the preamplifier. The
maximum recommended additional capacity is 1.5
pF for the 142A and 0.5 pF for the 142B and C.
The energy output signal from the preamplifier is a
fast-rise-time voltage step with an exponential
return to the baseline; the 142A pulse decays in
about 500
:
s and the 142B and C pulses decay in
about 1000
:
s. The polarity of these output pulses
is inverted from the signal polarity at the detector
output. When the (normal) positive bias polarity is
used for the detector, the detector output pulses are
negative and the E output of the preamplifier is
positive (Fig. 2.4). When ORTEC ruggedized
surface-barrier detectors are used as the input to
the preamplifier, negative bias is required and this
results in positive detector pulses and negative E
output pulses from the preamplifiers. The output
rise times are slightly longer for operation with
detectors biased with negative voltage since the
preamplifier has been optimized for widest
bandwidth for the most common detector mounting
configuration.
4.4. TIMING OUTPUT
As indicated in Fig. 4.1, the T output from the
preamplifier is a transformer differentiated and
inverted version of the E output. This differentiation
removes low-frequency noise for better timing
results. Due to the differentiation of the charge loop
output, any overshoot present will appear to
increase the rise time of the timing output (Fig. 4.2).
This, however, does not affect typical timing
experiment results since it is the initial slope of the
waveform that carries the information of importance
in timing. Similarly, due to stewing effects and large
signal bandwidth considerations within the charge
loop, the large-signal rise time is slightly longer than
that specified for the 142 series at 1.0 V (0.5 V
terminated) at the E output. Again, however, this
has no impact on a typical timing experiment since

Related product manuals