EasyManua.ls Logo

Panasonic AJ-VF15BP - Page 46

Panasonic AJ-VF15BP
59 pages
To Next Page IconTo Next Page
To Next Page IconTo Next Page
To Previous Page IconTo Previous Page
To Previous Page IconTo Previous Page
Loading...
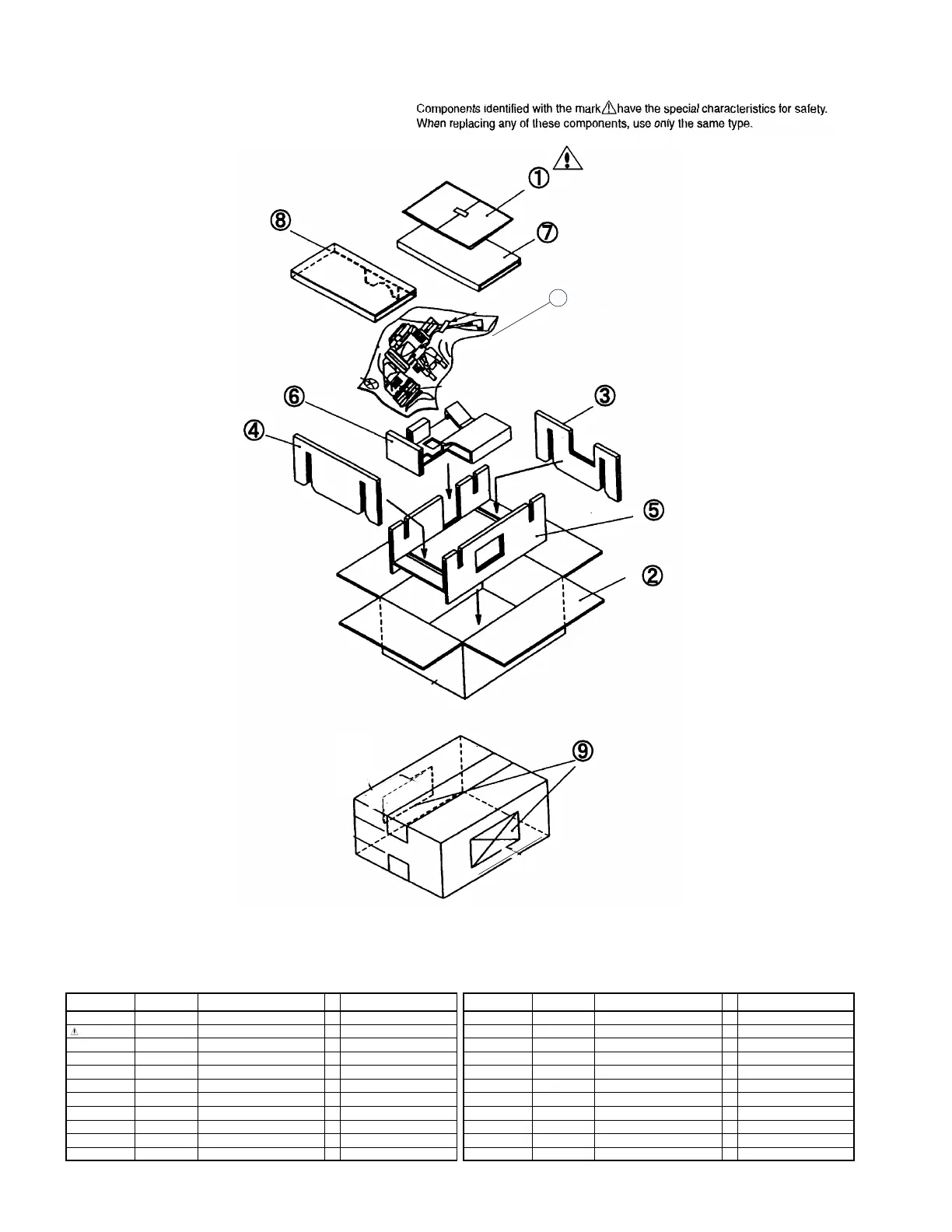
PACKING PARTS ASSEMBLY
PACKING PARTS ASSEMBLY
Ref.No. Part No. Part Name & Description Pcs Remarks Ref.No. Part No. Part Name & Description Pcs Remarks
9
1 VQT0L51 OPERATING INSTRUCTION 1 9 VQL9822
2 VPG0A71 PACKING CASE 1
10
VQL0A24 PACKING LABEL
3 VPN5247 CUSHION A 1 KH82-05 PROTECT BAG
4 VPN5248 CUSHION B 1
5 VPN5249 CUSHION C 1
6 KH4A-10 CUSHION D 1
7 VPN5251 CUSHION E 1
8 VPN5252 CUSHION F 1
PRT-3
10
PACKING LABEL 2
2
1
FOR_AJVF15BP/E
FOR_AJVF20WBP/E

Related product manuals