EasyManua.ls Logo

Panasonic CS-C12HKF - E-Ion Operation

Panasonic CS-C12HKF
58 pages
Print Icon
To Next Page IconTo Next Page
To Next Page IconTo Next Page
To Previous Page IconTo Previous Page
To Previous Page IconTo Previous Page
Loading...
36
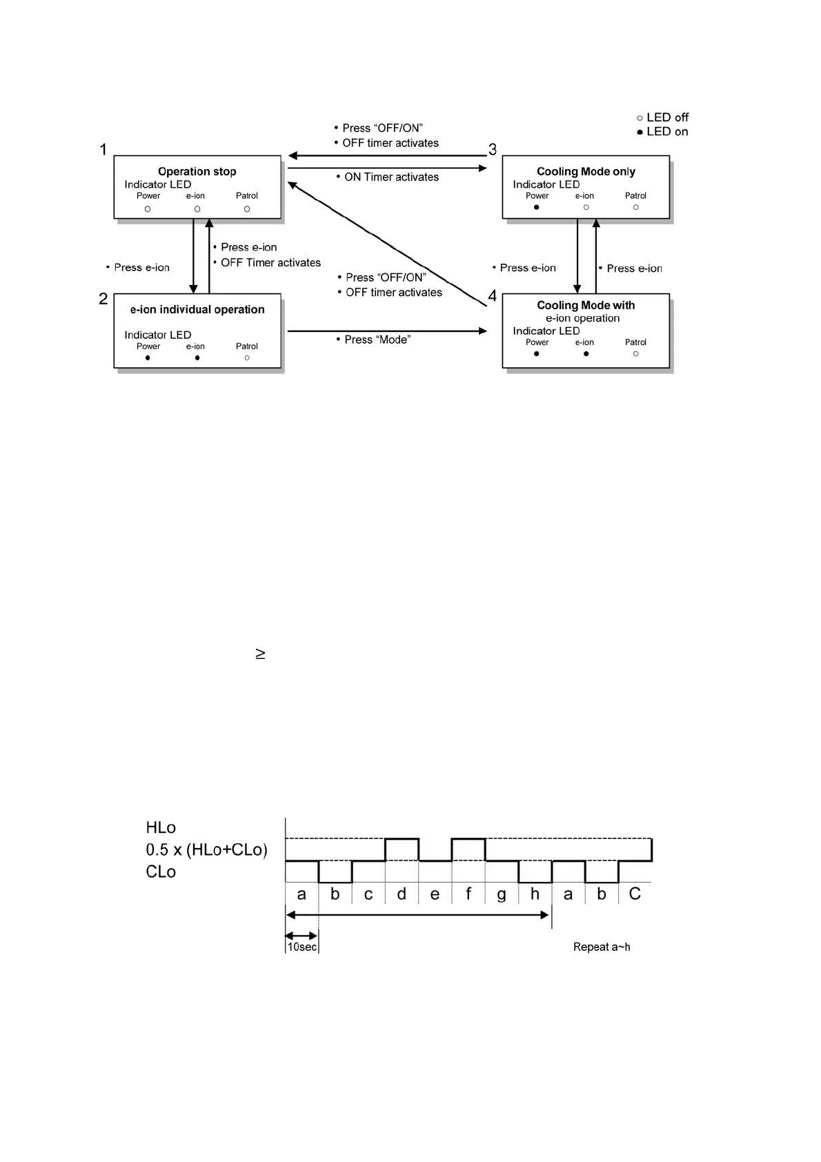
12.14. e-ion Operation
This operation provides clean air by producing negative ions to attract dust captured at the positively charged e-ion filters.
e-ion operation start condition
- During unit running at any operation mode, if “e-ion” button is pressed, combination operation (operation mode + e-ion
operation) starts.
- During unit is OFF, if “e-ion” button is pressed, e-ion individual operation starts.
e-ion operation stop condition
- When “OFF/ON” button is pressed to stop the operation.
- When “e-ion” button is pressed again.
- When “Patrol” button is pressed.
- When OFF Timer activates.
e-ion operation pause condition
- When indoor fan stop (during deice, odor cut control, thermostat off, etc.). e-ion operation resume after indoor fan restarts.
- When indoor intake temperature 40°C. e-ion operation resume after indoor intake temperature < 40°C continuously for 30
minutes.
Indoor fan control
- During any operation mode combines with e-ion operation, fan speed follows respective operation mode.
- During e-ion individual operation - only Auto Fan Speed and no Powerful operation is allowed. Even if Fan Speed button is
pressed, no signal is sent to air conditioner, and no change on LCD display.
Auto Fan Speed for e-ion operation switches between HLo and CLo at pattern below:

Related product manuals