EasyManua.ls Logo

Panasonic CS-C18PKF - Page 62

Panasonic CS-C18PKF
107 pages
To Next Page IconTo Next Page
To Next Page IconTo Next Page
To Previous Page IconTo Previous Page
To Previous Page IconTo Previous Page
Loading...
62
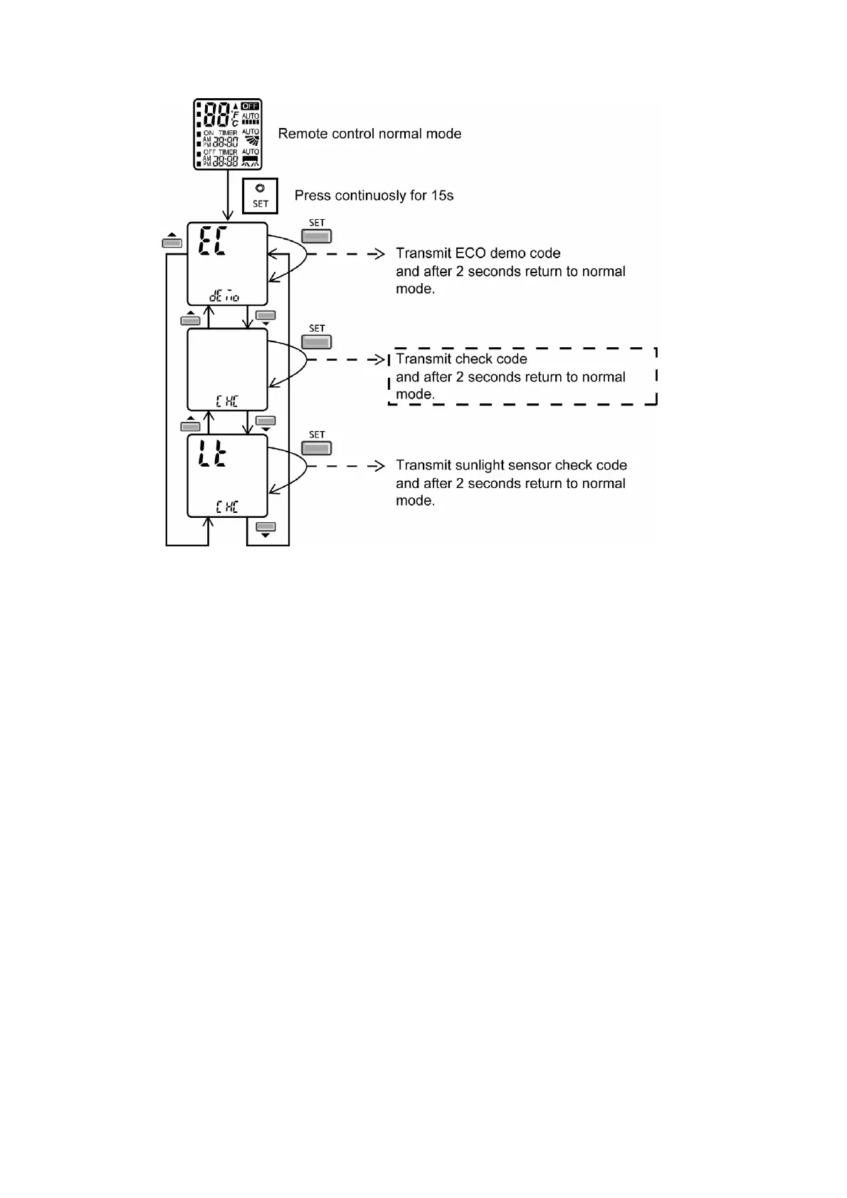
nanoe-G check mode
o To enable nanoe-G check mode, during nanoe-G operation ON:
o If there is abnormal discharge, nanoe-G indicator blinks immediately.
Error detection control
When nanoe-G indicator blinks, it indicates error listed below:
o nanoe-G connector at main PCB open
Judgment method
During nanoe-G operation, nanoe-G connector at main PCB is opened.
Troubleshooting method
Connect the connector or stop operation to cancel the blinking.
Switch off the power supply and unplug before cleaning.
Clean the dirty nanoe-G generator with cotton bud.
o Abnormal discharge error
Judgment method
During nanoe-G operation, the nanoe-G system has abnormal discharge due to short-circuit caused
by water or dust adhesion and so forth, with Lo-feedback voltage (at microcontroller).
When abnormal discharge occurred, every 30 minutes the unit supplies power to the nanoe-G
system.
When abnormal discharge occurs for 24 times continuously, nanoe-G indicator blinks.
o Troubleshooting method
Press nanoe-G button or OFF/ON button to stop the operation and check the nanoe-G connector at PCB.
After that, press nanoe-G button again to confirm the nanoe-G indicator do not blinks.
The 24 timer counter will be clear after 10 minutes of normal operation or when operation stops.
o Error reset method
Press OFF/ON button to OFF the operation.
Press AUTO OFF/ON button at indoor unit to OFF the operation.
OFF Timer activates
Power supply reset.

Table of Contents

Related product manuals