EasyManua.ls Logo

Panasonic CS-CE9LKE - Outdoor Fan Motor Operation; Airflow Direction

Panasonic CS-CE9LKE
85 pages
Print Icon
To Next Page IconTo Next Page
To Next Page IconTo Next Page
To Previous Page IconTo Previous Page
To Previous Page IconTo Previous Page
Loading...
33
[Heating]
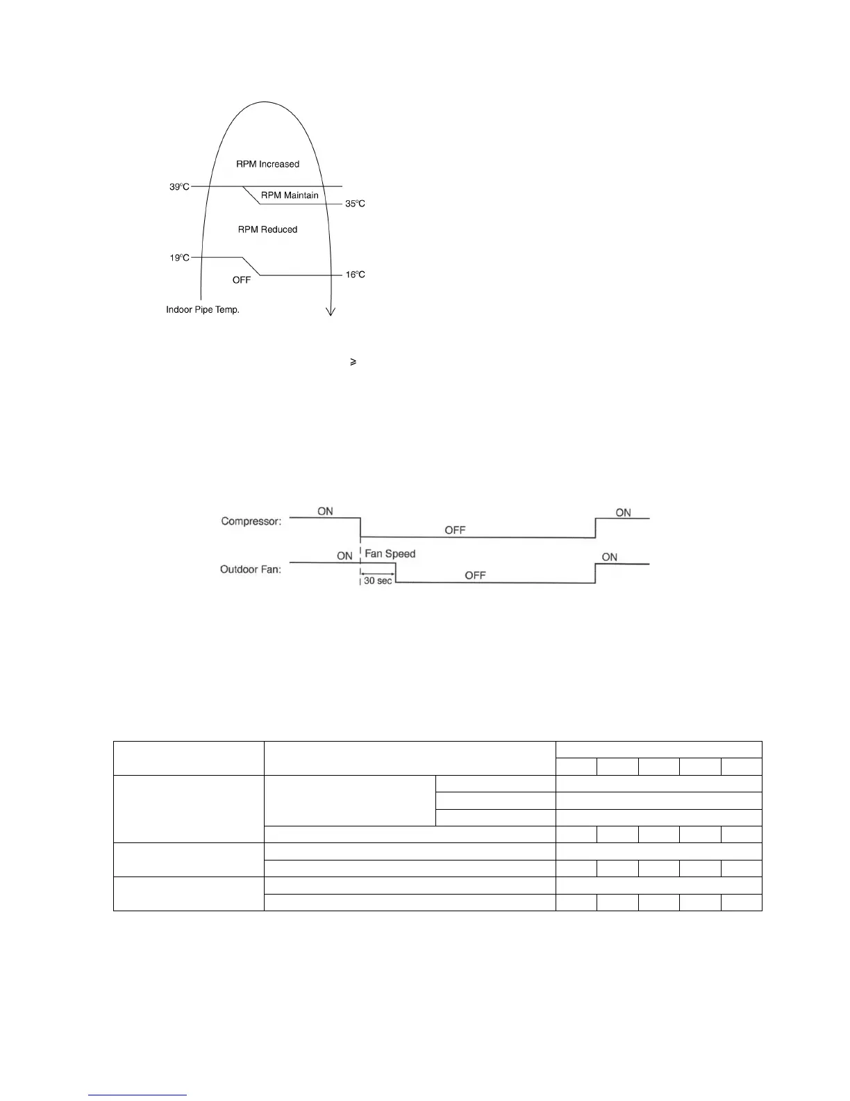
According to indoor pipe temperature, automatic heating fan speed is determined as follows.
B. Feedback control
Immediately after the fan motor started, feedback control is performed once every second.
During fan motor on, if fan motor feedback 2550 rpm or < 50 rpm continue for 10 seconds, then fan motor error counter
increase, fan motor is then stop and restart. If the fan motor counter becomes 7 times, then H19 - fan motor error is detected.
Operation stops and cannot on back.
12.3. Outdoor Fan Motor Operation
Outdoor fan motor is operated with 15 fan speed number of rotations. It starts when compressor starts operation and it stops 30
seconds after compressor stops operation.
12.4. Airflow Direction
1. There are two types of airflow, vertical airflow (directed by horizontal vane) and horizontal airflow (directed by vertical vanes).
2. Control of airflow direction can be automatic (angles of direction is determined by operation mode, heat exchanger
temperature and intake air temperature) and manual (angles of direction can be adjusted using remote control).
12.4.1. Vertical Airflow
1. Automatic vertical airflow direction can be set using remote control; the vane swings up and down within the angles as stated
above. For heating mode operation, the angle of the vane depands on the indoor heat exchanger temperature as Figure 1
below. It does not swing during fan motor stop. When the air conditioner is stopped using remote control, the vane will shift to
close position.
2. Manual vertical airflow direction can be set using remote control; the angles of the vane are as stated above and the positions
of the vane are as Figure 2 below. When the air conditioner is stopped using remote control, the vane will shift to close
position.
Operation Mode Airflow Direction Vane Angle (°)
12345
Heating Auto with Heat Exchanger
Temperature
A20
B58
C33
Manual 20 33 45 58 70
Cooling and Fan Auto 20 ~ 46
Manual 20 27 33 40 46
Soft Dry Auto 20 ~ 46
Manual 20 27 33 40 46

Related product manuals