EasyManua.ls Logo

Panasonic CU-C7BKP6 - 5 Refrigeration Cycle Diagram

Panasonic CU-C7BKP6
83 pages
Print Icon
To Next Page IconTo Next Page
To Next Page IconTo Next Page
To Previous Page IconTo Previous Page
To Previous Page IconTo Previous Page
Loading...
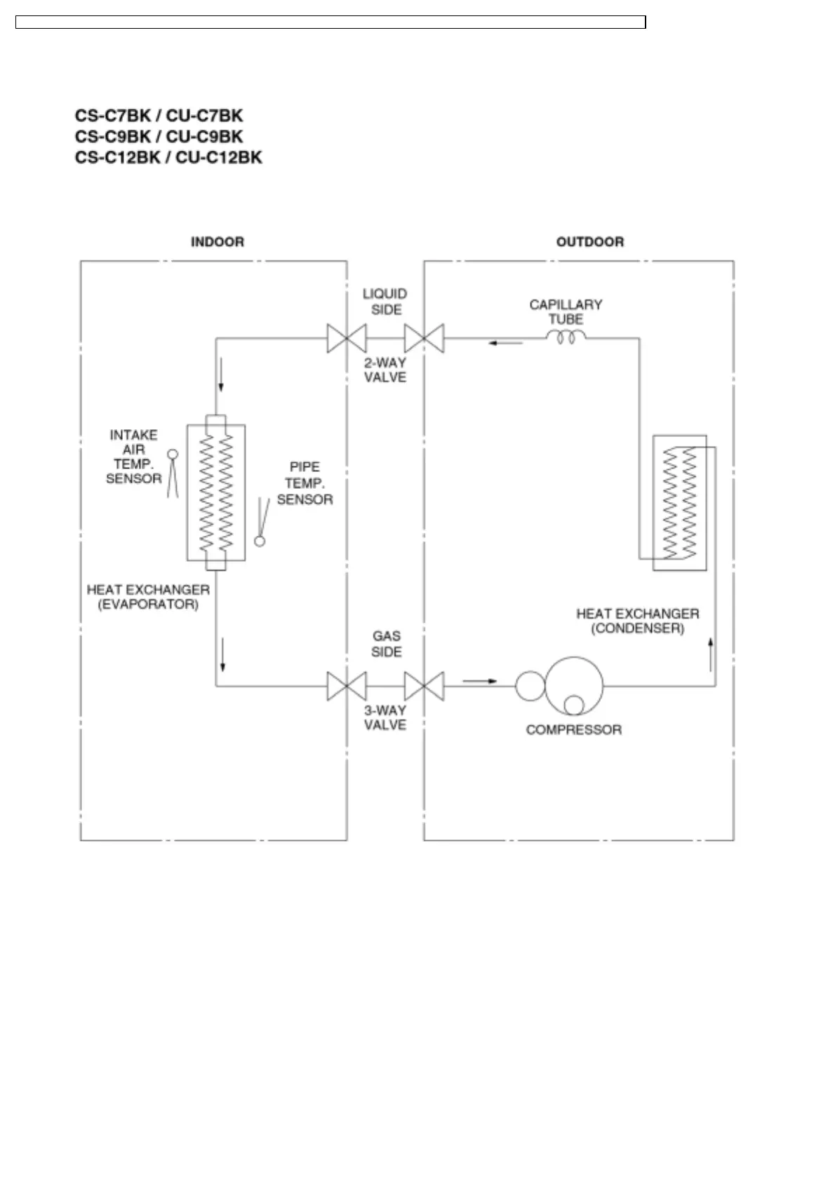
5 Refrigeration Cycle Diagram
18
CS-C7BKP CU-C7BKP5 / CS-C7BKP CU-C7BKP6 / CS-C9BKP CU-C9BKP5 / CS-C9BKP CU-C9BKP6 / CS-C12BKP CU-C12BKP5 / CS-C12BKP CU-C12BKP6

Related product manuals