EasyManua.ls Logo

Panasonic CU-L50DBE5 - Emergency Operation

Panasonic CU-L50DBE5
86 pages
Print Icon
To Next Page IconTo Next Page
To Next Page IconTo Next Page
To Previous Page IconTo Previous Page
To Previous Page IconTo Previous Page
Loading...
55
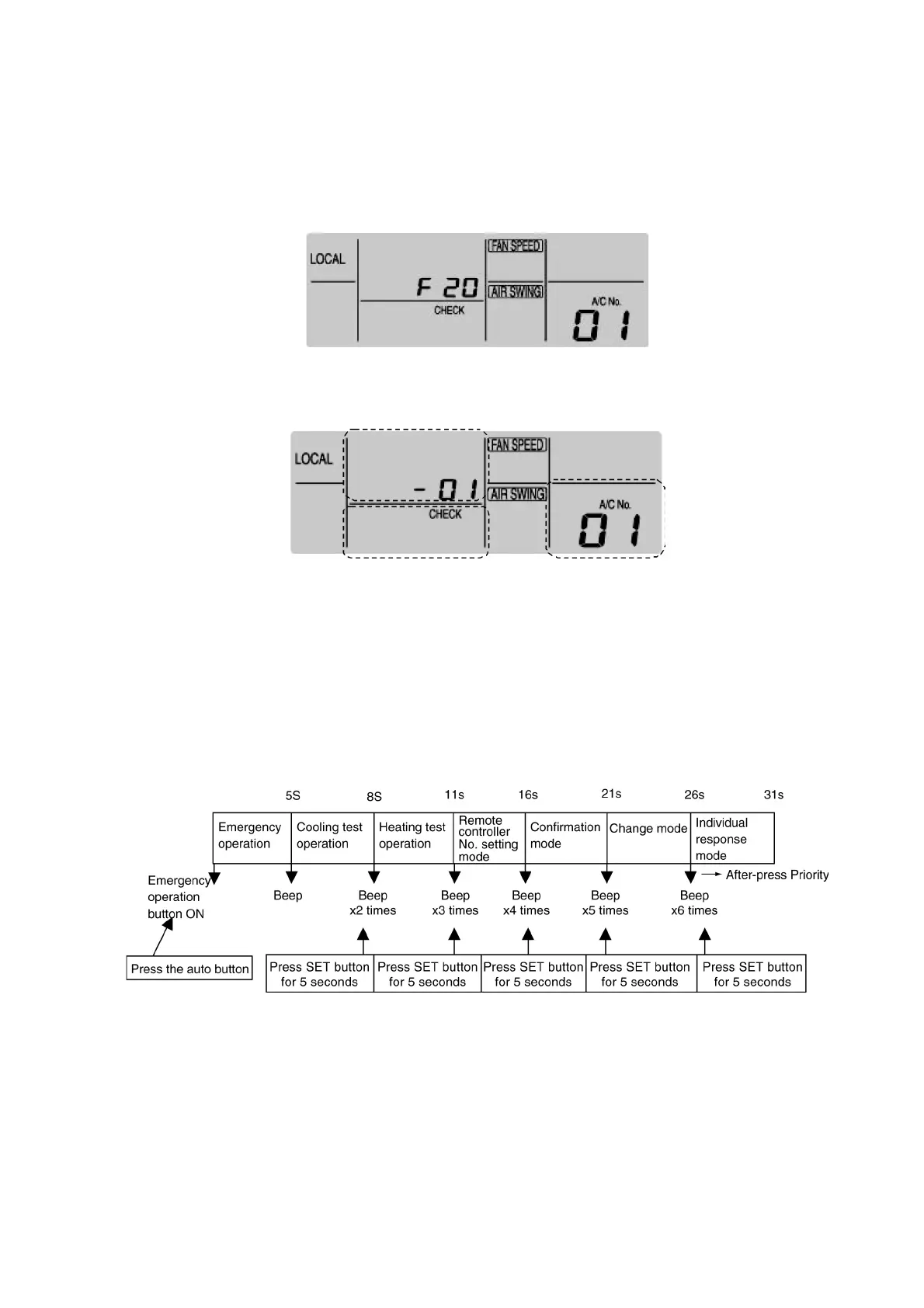
The air conditioner No.“01” appears during normal installation and use.
When using group control, a different number may appear.
The air conditioner No. can be displayed by pressing the air conditioner No. button.
(=same as Temp. up and down button)
When an abnormality occurs at this unit, “check” flashes in the display.
Press the check button while the display is flashing.
The timer display will change and an error code from F15 to F44 will appear in place of time.
(the temperature setting display will also change to show the air conditioner. No.)
Press the timer set button while the error is displayed.
The F15-44 display will change to the detail display.
How to display the past error message
If the CHECK display on the wired remote control is not flashing, press the CHECK button continuously for 5 seconds or more to
display the past problem details.
10.4. Emergency operation
When using the wireless remote control and losing the remote controller, emergency operation can be operated by pressing the
auto button in the receiver.
Press the auto button continuously within 5 seconds
emergency operation
If there is an abnormality in the temperature thermistor (disconnect or shorted), indoor unit cannot be operated.
If abnormality detected in the indoor or outdoor unit, turn off the main power supply and find the cause.
Check the resistance of each thermistor of both indoor and outdoor units by refering the resistance table as follows.

Other manuals for Panasonic CU-L50DBE5

Related product manuals