EasyManua.ls Logo

Panasonic CU-PE12DKE - Page 34

Panasonic CU-PE12DKE
77 pages
Print Icon
To Next Page IconTo Next Page
To Next Page IconTo Next Page
To Previous Page IconTo Previous Page
To Previous Page IconTo Previous Page
Loading...
Time Graph
Free
1
2
3
4
5
Free
Free
OFF
Free
OFF
OFF
ON
ON
Deice Operation
ON
ON
Frequency for
Compressor
Indoor
Unit
Outdoor
Fan
4-way
Valve
17
13
10
-1
Deice
Terminated
Frequency
For
Compressor
Indoor Fan
Outdoor Fan
4-way Valve
PE12DKE
1
234
56 7
PE9DKE
58Hz
58Hz
51Hz
51Hz
51Hz
51Hz
58Hz
58Hz
71Hz
71Hz
99Hz
99Hz
99Hz
99Hz
ON OFF OFF OFF OFF ON
ON
OFF OFF OFF OFF ON ONON
OFF OFF OFF OFF ON ONON
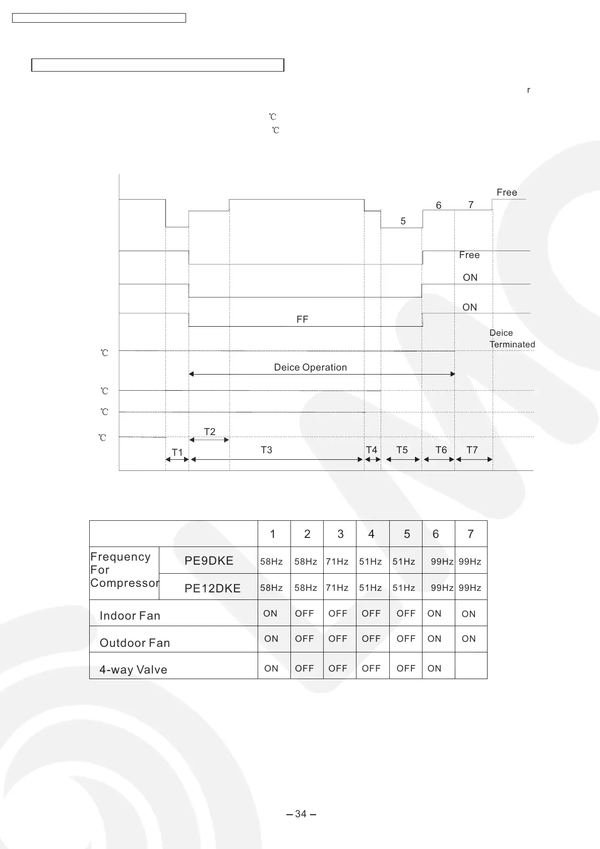
New JIS Deice Operation
Deice operation starts immediately after the deice instruction is received. But the first deice operation starts 1 hour
after the heating operation is activated.
1.Outdoor heat exchanger temperature is lower than3 for 30minutes.
2.Outdoor heat exchanger temperature is lower than -1 continuously for 3 minutes.
6
7
T1
T2
T3 T4 T5 T6 T7
Outdoor
Heat
Exchanger
Temperature.
34
CS-PE9DKE / CU-PE9DKE / CS-PE12DKE / CU-PE12DKE

Related product manuals