EasyManua.ls Logo

Panasonic CZ-RTC4A - Weekly Program Function; Checking the Weekly Timer

Panasonic CZ-RTC4A
28 pages
Print Icon
To Next Page IconTo Next Page
To Next Page IconTo Next Page
To Previous Page IconTo Previous Page
To Previous Page IconTo Previous Page
Loading...
9
Set the weekly program assigning a given timer to each day of the week.
Maximum of 6 programs a day and 42 programs a week can be set.
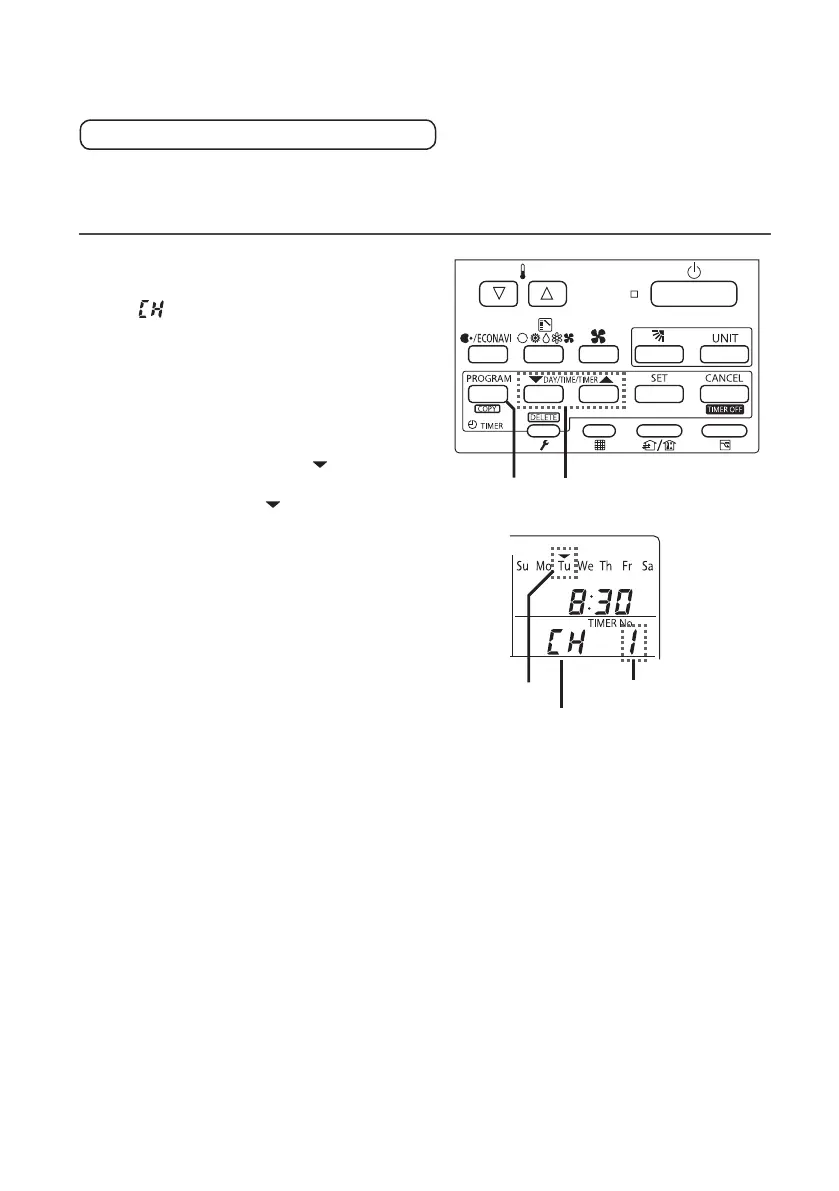
Select the day and the TIMER number you want to program.
1
Press [PROGRAM] to enter the
program con rmation mode
” and start setting.
Once you enter the program con rmation
mode, the present day is indicated as
TIMER No. “1”.
TIMER No. 1-6
2
program CHeck
A
2 / 31
2
Select the day.
Press [/] to move the “ ” horizontally on
the day to select.
Press [] to move “ ” ( ashing on the
display) in the order of: Su Mo Tu....
Press [] to move it in the order of : Su
Sa Fr....
“– – : – –” is displayed when the program is
not set.
Press [SET] to x the day.
3
Select a Timer number.
Press [/] to select a TIMER No. from 1
to 6.
Press [] to move up from 1.
Press [] to move down from 6.
Checking the Weekly Timer
Weekly Program Function

Other manuals for Panasonic CZ-RTC4A

Related product manuals