EasyManua.ls Logo

Panasonic DVD-A7 - Random play; Setting up random play

Panasonic DVD-A7
126 pages
To Next Page IconTo Next Page
To Next Page IconTo Next Page
To Previous Page IconTo Previous Page
To Previous Page IconTo Previous Page
Loading...
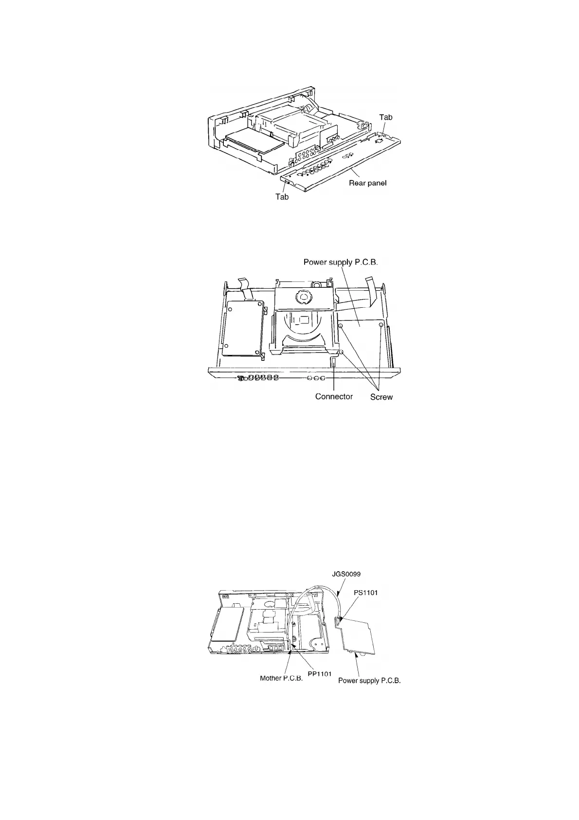
9.12. Checking the Power Supply P.C.B.
1. Remove the 3 screws.
2. Carefully pull out the power supply P.C.B.
Note
There is a danger of damaging the connectors.
3. Connect the power supply P.C.B. and the mother P.C.B. with the
extension cable for inspection.
- Extension cable: JGS0099 (connects the power supply P.C.B.
PS1101 and the mother P.C.B. PP1101)
9.13. Checking the Mother P.C.B.
20

Table of Contents

Other manuals for Panasonic DVD-A7

Related product manuals