EasyManua.ls Logo

Panasonic FJ-T09A3 - Page 7

Panasonic FJ-T09A3
20 pages
Print Icon
To Next Page IconTo Next Page
To Next Page IconTo Next Page
To Previous Page IconTo Previous Page
To Previous Page IconTo Previous Page
Loading...
7
HOW TO INSTALL 
CÓMO INSTALAR
1. Choose an appropriate installation position
Elija un lugar de montaje adecuado
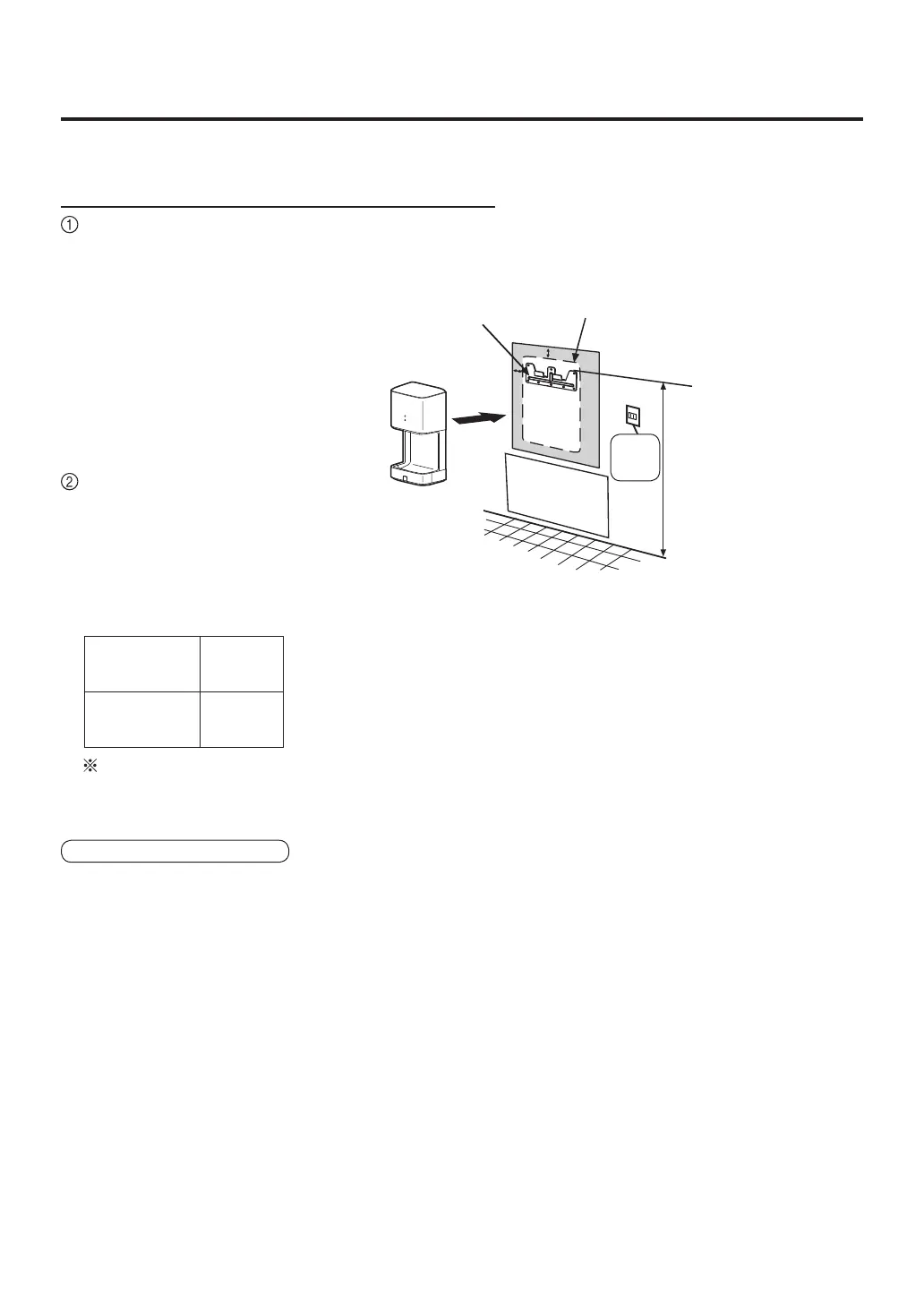
 1
Installation position for the fixation board
shall be secure and reliable. Try to choose
an erective wall if possible, and make
sure the main unit installation position
and its surrounding should keep blank
space 100 mm or above.
La posición de montaje de la placa de
fijación debe ser segura y confiable.
Trate de elegir una pared vertical, si es
posible, y asegúrese de que la posición
de instalación de la unidad principal y su
entorno tengan un espacio en blanco de
100 mm o más.



100

Recommended installation heights from
ground to the upper end of the fixation
board are listed in the following table:
Las alturas de montaje recomendadas
desde el suelo hasta el extremo superior
de la placa de fijación se indican en la
siguiente tabla:


For men
Para hombres

1200 mm
For women
Para mujeres

1100 mm
If shared by men and women, the height for women is suggested
Si lo comparten hombres y mujeres, se sugiere la altura para las mujeres

Precautions Precauciones

(1) Be sure to follow the distance instructions shown in the above figure to leave a gap of 100 mm or above between the
hand dryer and the lateral wall or the combustibles. Meanwhile, leave some space on both sides of the hand dryer, and
make sure it is not besieged by walls or any other objects.
Asegúrese de seguir las instrucciones de distancia que se muestran en la figura de arriba para dejar un espacio de 100 mm
o más entre el secador de manos y la pared lateral o los combustibles. Mientras tanto, deje algo de espacio a ambos lados
del secador de manos, y asegúrese de que no esté cercada por paredes o cualquier otro objeto.
100 1

(2) Avoid installing in places where people might bump into the hand dryer or it will be hit by door.
No instale en lugares donde las personas puedan tropezar con el secador de mano o que éste pueda ser golpeado por una
puerta.
 2
(3) Do not set the socket in places where it may be splashed with water.
(If the socket is set under the hand dryer, the water spilt while cleaning the water tray unit may splash onto the socket.)
No coloque la toma en lugares donde pueda ser salpicada con agua.
(Si la toma se coloca bajo el secador de manos, el agua derramada durante la limpieza de la unidad de la bandeja de agua
puede salpicarla.)
 3


Fixation board
Placa de fijación

Installation position for the main unit
Posición de montaje de la unidad principal

100 mm or above
100 mm o más
100
Socket
Toma de
corriente

From ground
Desde el suelo

1200 mm
(For men)
(Para hombres)

1100 mm
(For women)
(Para mujeres)

(Recommended Value)
(Valor recomendado)

The socket shall not be
set in this area.
La toma no se debe
ubicar en esta área.


100 mm or above
100 mm o más


100

Related product manuals