EasyManua.ls Logo

Panasonic FPG-C32T2H - Page 14

Panasonic FPG-C32T2H
440 pages
Print Icon
To Next Page IconTo Next Page
To Next Page IconTo Next Page
To Previous Page IconTo Previous Page
To Previous Page IconTo Previous Page
Loading...
xii
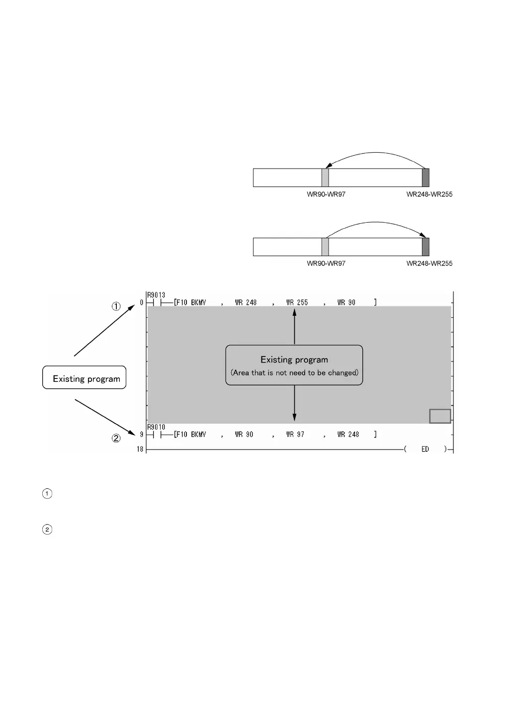
How to change an existing program
It is an easy method for chaging an existing program by partially adding a program without modifying the
exsiting program.
(When a programmable display is connected, it is not necessary to change the R and WR that are
referred for the switches and data parts in the programmable display.)
1. At the begnning of a program
Data in the hold-type area is transferred to the
existing area only once when the power supply
turns on.
2. At the end of a program
Data in the hold-type area is always transferred
to the existing area.
<Explanation of the program>
Transfers the contents stored in the hold-type area (WR248 to WR255) to the existing hold-type area
WR90 to WR97 when the power supply turns on, and returns the previous state before the power
supply turns off (because the area WR90 to WR97 cannot be held without a battery on V3).
After returning to the previous state that is the one before the power supply turns off, always transfers
the WR operated during the scan or the information of R input from the programmabld display (WR90
to WR97) to the hold-type area (WR248 to WR255). And prepares for holding data when the power
supply turns off.

Table of Contents

Related product manuals