EasyManua.ls Logo

Panasonic FPG-C32T2H - Page 35

Panasonic FPG-C32T2H
440 pages
Print Icon
To Next Page IconTo Next Page
To Next Page IconTo Next Page
To Previous Page IconTo Previous Page
To Previous Page IconTo Previous Page
Loading...
2-7
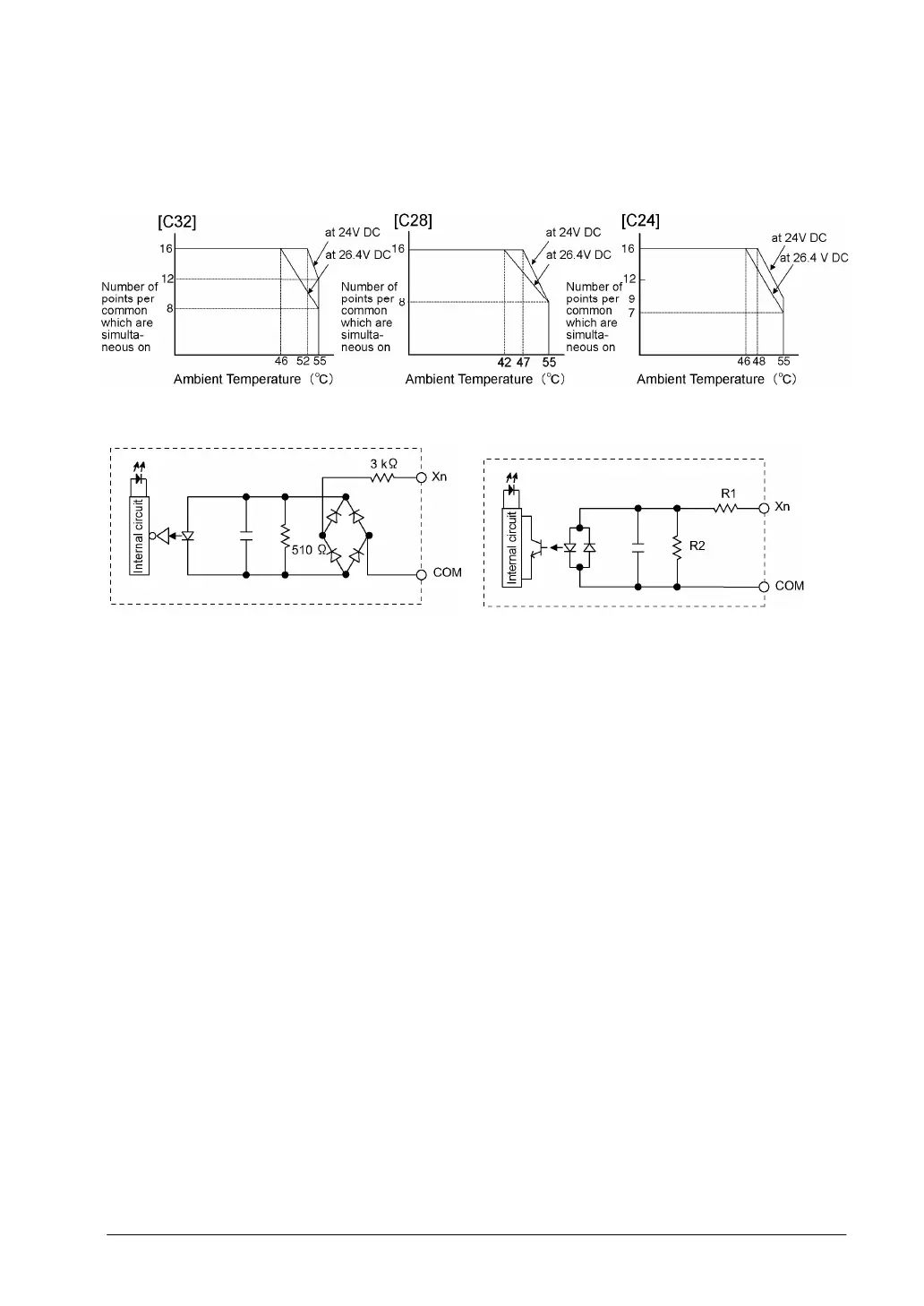
Limitations on number of simultaneous input on points
Keep the number of input points per common which are simultaneously on within the following range as
determined by the ambient temperature.
Circuit diagram
[X0, X1, X3, X4] [X2, X5 to XF]
For X2, X5 to X7: R1=5.6kΩ R2=1kΩ
For X8 to XF: R1=6.8kΩ R2=820Ω

Table of Contents

Related product manuals