EasyManua.ls Logo

Panasonic MBDLT25BM - Peripheral Device Configuration; Installation Environment

Panasonic MBDLT25BM
111 pages
Print Icon
To Next Page IconTo Next Page
To Next Page IconTo Next Page
To Previous Page IconTo Previous Page
To Previous Page IconTo Previous Page
Loading...
No. SX-DSV03335 - 77-
R2.0 Industrial Device Solution Business Unit, Panasonic Corporation
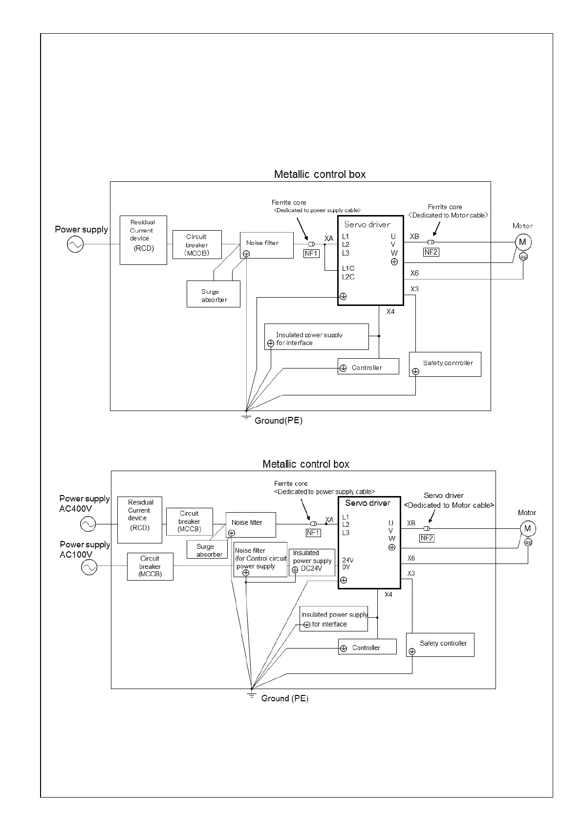
9-3 Peripheral device configuration
9-3-1 Installation environment
Use the servo driver under the environment of pollution degree 2 or 1 defined in IEC60664-1.
(Example: Installed in the IP54 control panel.)
Be sure to connect the circuit breaker (MCCB) or fuse of IEC standard and UL approved type
to the main power supply.
For power supply for parallel I / O, use double insulated or reinforced insulated DC 24 V power supply.
100 V/200 V type
400 V type

Table of Contents

Related product manuals