EasyManua.ls Logo

Panasonic MX-AC400WUA - 6 Wiring Connection Diagram; Schematic Diagram

Panasonic MX-AC400WUA
30 pages
Print Icon
To Next Page IconTo Next Page
To Next Page IconTo Next Page
To Previous Page IconTo Previous Page
To Previous Page IconTo Previous Page
Loading...
25
6 Wiring Connection Diagram
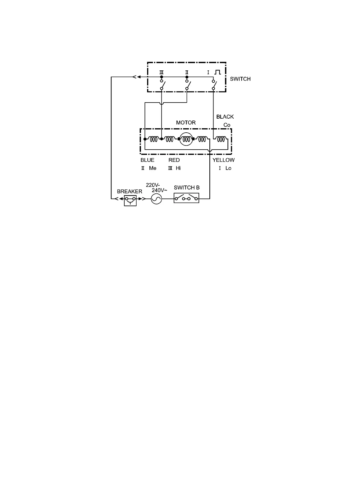
6.1. Schematic diagram
As shown in the wiring diagram heavy duty motor's yellow wire is connected with low speed switch terminal, blue wire is connected
with medium speed switch terminal, red wire is connected with maximum speed switch terminal. Motor black wire is connected to
power cord black wire, Power cord green wire is connected to motor body for earth and Red wire is connected to circuit breaker.
One end of the lead wire is connected to the circuit breaker and the other end is connected with switch.