EasyManua.ls Logo

Panasonic SA-PM17E - Page 57

Panasonic SA-PM17E
146 pages
Print Icon
To Next Page IconTo Next Page
To Next Page IconTo Next Page
To Previous Page IconTo Previous Page
To Previous Page IconTo Previous Page
Loading...
: approx. 5msec)
D. REV PLAY: Supply the plunger power in a normal timing at
STOP mode. (ON: approx. 200msec)
E. REV REW: Supply the plunger power in a flash at REV PLAY
mode. (ON: approx. 50msec)
F. STOP: Supply the plunger power in a flash at FF mode. (ON:
approx. 50msec)
Repeat the operation ( FWD PLAY)
(Note) Other operation may start if a timing of supplying the
plunger power is missed.
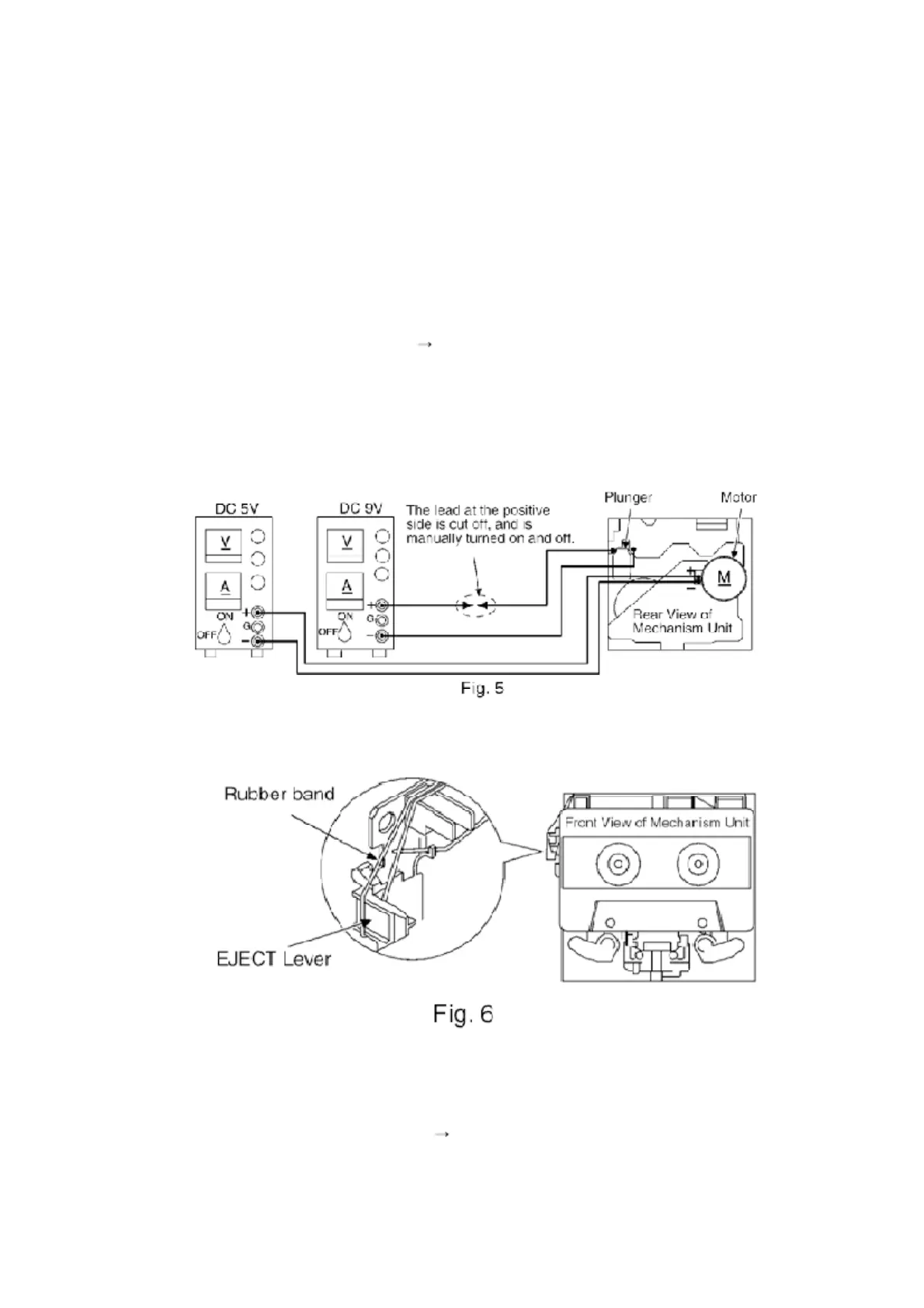
10.1.1. Connection Status between Mechanism and Power Supply (Motor,
Plunger)
10.1.2. Operative Parts of Mechanism Unit (EJECT lever fitted with rubber band, /
Plunger/Rib operation)
10.2. Operation Check without Cassette Tape
1. Pull up the EJECT lever using a rubber band. (Cf. Fig. 6)
2. Supply DC5V to MOTOR. ( MOTOR rotates.)
57

Related product manuals