EasyManua.ls Logo

Panasonic SB-WA730GCP

Panasonic SB-WA730GCP
32 pages
To Next Page IconTo Next Page
To Next Page IconTo Next Page
To Previous Page IconTo Previous Page
To Previous Page IconTo Previous Page
Loading...
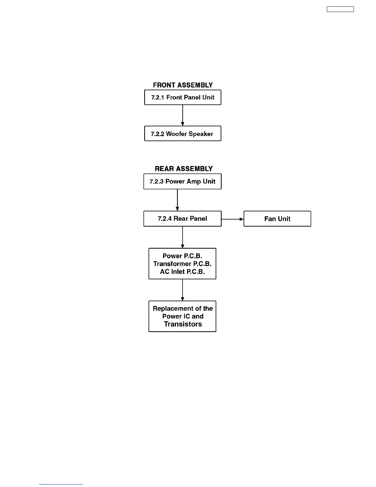
7.1. Disassembly flow chart
The following chart is the procedure for disassembling the casing and inside parts for internal inspection when carrying out the
servicing.
To assemble the unit, reverse the steps shown in the chart below.
7.1.1. Disassembly of Front Panel Assembly
7.1.2. Disassembly of Rear Assembly
7
SB-WA730GCP

Related product manuals