EasyManua.ls Logo

Panasonic SC-PM5DB - Page 14

Panasonic SC-PM5DB
20 pages
Print Icon
To Next Page IconTo Next Page
To Next Page IconTo Next Page
To Previous Page IconTo Previous Page
To Previous Page IconTo Previous Page
Loading...
RQTX0237
14
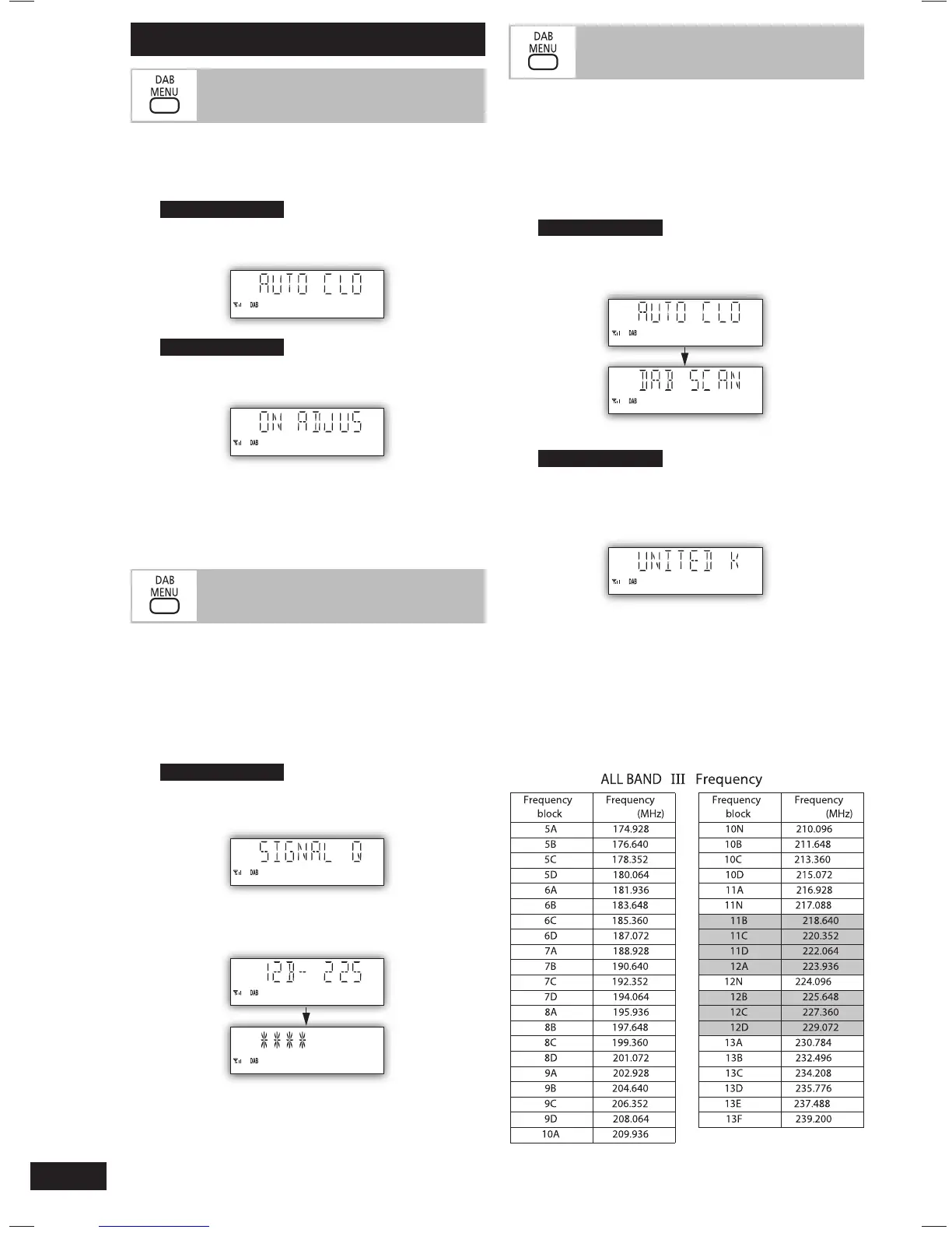
Turning automatic clock
Turning automatic clock
adjustment function on
adjustment function on
To adjust the time information during DAB
broadcasting and automatic time adjustment.
1 Press [DAB MENU] to enter menu mode.
2 (
Within 10 seconds
)
Press [3/4, ALBUM] to select “AUTO
CLOCK” and then press [OK].
3 (
Within 10 seconds
)
Press [3/4, ALBUM] to select “ON
ADJUST” and then press [OK].
Select “OFF ADJUST” to turn the automatic clock
adjustment function off.
To exit
Press [DAB MENU] again.
Checking the DAB signal
Checking the DAB signal
quality
quality
To improve reception by adjusting the antenna while
monitoring signal quality on the display.
1 Press [DAB MENU] to enter menu mode.
“SCAN FAILED” appears if no stations are
memorised. If this occurs, adjust the antenna
and try Auto scanning or change the Auto scan
frequency range.
2 (
Within 10 seconds
)
Press [3/4, ALBUM] to select “SIGNAL
QUALITY” and then press [OK].
3 Press [3/4, ALBUM] to select the
frequency.
To exit
Press [DAB MENU] again.
Note:
In order to enjoy the new stations after adjusting the
antenna, it is necessary to perform Auto scanning to
update the station memory.
Changing the Auto scan
Changing the Auto scan
frequency range
frequency range
Only the frequencies currently used in the UK as
of January 2009 on BAND III are Auto scanned
(“United Kingdom”, factory setting).
Select “ALL BAND III when you want to store
stations on other frequencies to memory.
1 Press [DAB MENU] to enter menu mode.
2 (
Within 10 seconds
)
Press [3/4, ALBUM] to select “DAB
SCAN MODE” and then press [OK].
2 (
Within 10 seconds
)
Press [3/4, ALBUM] to select “UNITED
KINGDOM” or “ALL BAND III and then
press [OK].
Auto scan begins automatically after the change has
been made.
To exit
Press [DAB MENU] again
Note:
When the “DAB SCAN MODE” is changed, the DAB
preset channels are erased and if the DAB play timer
has been set the timer switches to off.
Shaded areas are frequencies used currently as January 2009 in the
“United Kingdom”.
DAB (continued)
RQTX0237-B_En.indd 14RQTX0237-B_En.indd 14 3/19/09 4:13:15 PM3/19/09 4:13:15 PM

Related product manuals